Запчасти Bobcat 100 2-SPOOL VALVE (L.H. TRAVEL, ARM)(1/2) WORK EQUIPMENT CONTROL SYSTEM

Схема запчастей Bobcat 100 - 2-SPOOL VALVE (L.H. TRAVEL, ARM)(1/2) WORK EQUIPMENT CONTROL SYSTEM
FIT
1:1
100%

Артикул

Название

Примечание

Количество

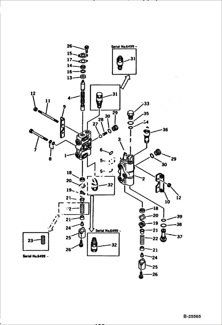
1

6646218

VALVE ASY See Illustration 2-SPOOL VALVE (L.H. TRAVEL, ARM)(2/2)/ B25566

1

6640531

VALVE ASY See Illustration 2-SPOOL VALVE (L.H. TRAVEL, ARM)(2/2)/ B25566 Komatsu S/N 6001-6498

1

6646050

COVER

2

BODY Was 700-22-11110

3

SPOOL, L.H. TRAVEL Was 700-23-13120

4

SPOOL, ARM Was 700-22-11710

5

6637387

O-RING

6

6640246

O-RING

7

6640260

BOLT

8

6637157

WASHER

9

6640229

ANGLE

10

6640255

ANGLE

11

6640228

STUD

12

NUT Was 01580-10806

13

6640230

U-PACKING

14

6640231

SEAL, DUS

15

6640232

SHIELD

16

6640245

COLLAR

17

6640244

GASKET

18

6640230

U-PACKING

19

6640233

SHIELD

20

6640244

GASKET

21

6640234

RETAINER

22

6640235

SPRING Komatsu S/N 6001-6498

22

6640235

SPRING Komatsu S/N 64999-

23

6640250

SPRING Komatsu S/N 64999-

24

6640236

PLUG

25

6640237

COVER

26

6637050

BOLT

27

6640247

BALL

28

6640248

SPRING

29

6640238

PLUG

30

6637418

O-RING

31

6640224

VALVE ASY Komatsu S/N 6001-6498

31

6640225

GROUP suction & safety - Komatsu S/N 6499-

32

6640225

GROUP safety valve assy - Komatsu S/N 6001-6498

32

6640224

VALVE ASY suction & safety - Komatsu S/N 6499-

33

6640239

PLUG

34

6637371

O-RING

35

6637411

O-RING

36

6640257

VALVE, RE main relief

37

6640254

PLUG

38

6637371

O-RING

39

6637411

O-RING

Выбрано товаров: 44