Качественные детали и логистика
Оригинальные и аналоговые запчасти с доставкой по России, Казахстану и Беларуси
©2022 PartSell ООО "Система" ИНН 2463123282 ОГРН 1212400004838
Центральный офис: г. Красноярск, Академика Киренского, д.87, пом.4
Телефон: 8 (800) 777-65-74 Email: zakaz@partsell.ru
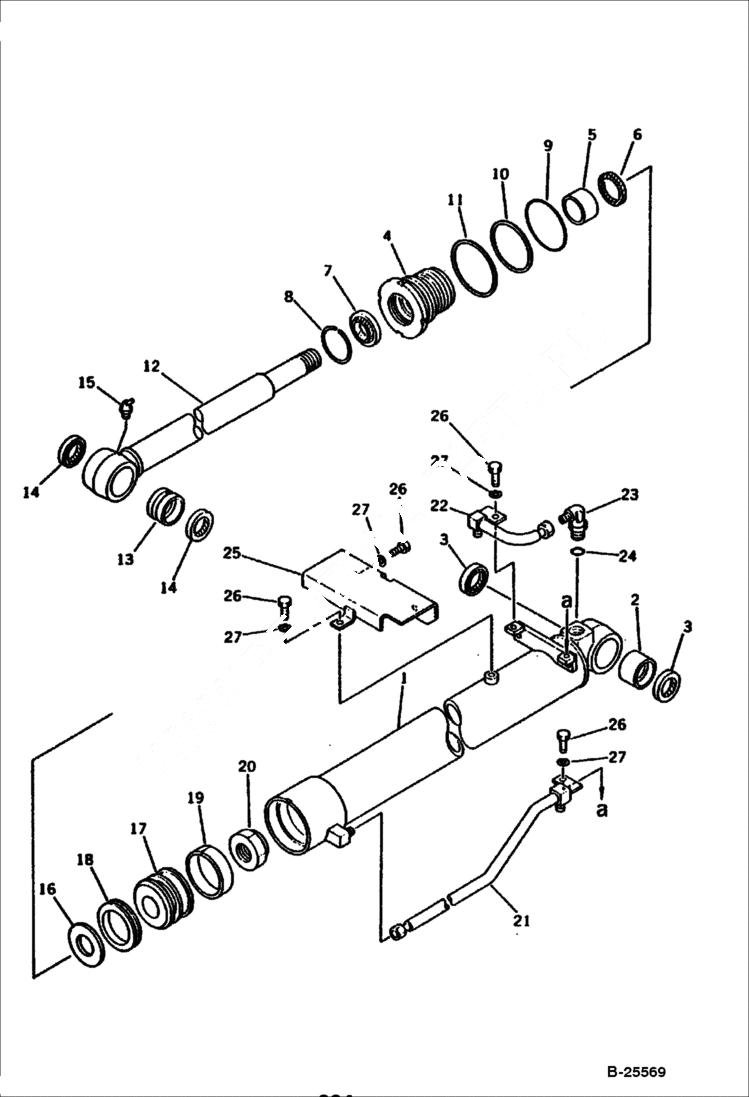
BUCKET CYLINDER
№
Артикул
Название
Примечание
Количество
1
6638880
CYLINDER bucket
6638882
CYLINDER
2
6637521
BUSHING
3
6637532
SEAL, DUST
4
6640396
CYL HEAD
5
6637563
6
6640432
PACKING
7
6637896
DUST SEAL
8
6637571
RING, SNA
9
6637379
O-RING
10
6637401
RING, BAC
11
6640427
LOCK
12
6638881
ROD piston
13
6637526
14
15
6637431
FITTING
16
6640420
RETAINER
17
6640412
PISTON
18
6649369
PISTON RG Was 6640424 - A
19
6637544
RING, WEAR
20
6637555
NUT
21
6638883
TUBE
22
6638884
23
6637587
ELBOW
24
6637417
25
6640450
GUARD
26
6636966
BOLT
27
6637157
WASHER
Выбрано товаров: 0