Запчасти Bobcat 100 HYDRAULIC PIPING (TANK TO PUMP) WORK EQUIPMENT CONTROL SYSTEM

Схема запчастей Bobcat 100 - HYDRAULIC PIPING (TANK TO PUMP) WORK EQUIPMENT CONTROL SYSTEM
FIT
1:1
100%

Артикул

Название

Примечание

Количество

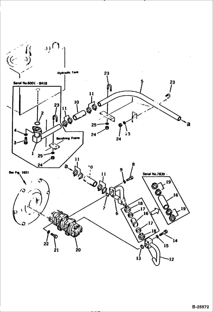
1

6638816

TUBE Komatsu S/N 6001-8418

2

6637360

O-RING Komatsu S/N 6001-8418

3

6636981

BOLT Komatsu S/N 6001-8418

4

6637136

WASHER Komatsu S/N 6001-8418

5

6638817

TUBE

6

6638818

TUBE

7

6637356

O-RING

8

6636969

BOLT

9

6637135

WASHER

10

6642106

HOSE

11

6637628

CLAMP

12

6638819

TUBE Komatsu S/N 6001-8431

12

6660819

TUBE Komatsu S/N 8432-

13

6637356

O-RING

14

6636976

BOLT

15

6637135

WASHER

16

6637646

COUPLING 07260-02611, 6637625(4) - Komatsu S/N 6001-7838

16

6649136

HOSE Komatsu S/N 7839-

17

6642116

GASKET Komatsu S/N 6001-7838

18

6645893

CLAMP Komatsu S/N 6001-7838

19

6637625

CLAMP Komatsu S/N 7839-

20

6640331

PUMP ASY (705-86-14060, 6660819) - Komatsu S/N 6001-8432

20

PUMP ASSY Komatsu S/N 8432- Was 705-86-14060

21

6636968

BOLT

22

6637157

WASHER

23

6637638

CLIP

24

6637122

NUT

25

6637157

WASHER

Выбрано товаров: 28