Качественные детали и логистика
Оригинальные и аналоговые запчасти с доставкой по России, Казахстану и Беларуси
©2022 PartSell ООО "Система" ИНН 2463123282 ОГРН 1212400004838
Центральный офис: г. Красноярск, Академика Киренского, д.87, пом.4
Телефон: 8 (800) 777-65-74 Email: zakaz@partsell.ru
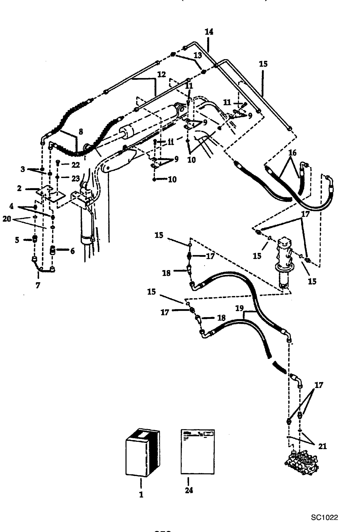
AUXILIARY HYDRAULICS (BOBCAT - 6.9GPM)
№
Артикул
Название
Примечание
Количество
1
KIT NLA - Order individual parts
2
6530846
BRACKET
3
86F7
LOCK NUT
4
45K7
CONNECTR W/Ref. 28
5
6598757
COUPLER, POPPET MALE straight
6
6598758
COUPLER, POPPET FEMALE straight
7
6513709
CAP PLUG
8
6530782
HOSE
9
6502426
CLAMP
10
85D6
NUT, 5
11
17C624
BOLT 5
12
6530895
TUBELINE
13
87F7
UNION
14
6530896
15
6637415
O-RING
16
6530893
17
6530820
ADAPTER W/Ref. 29
18
11K7
ADAPTER
19
6530894
20
79K10
O RING 10
21
6637414
22
6636966
BOLT
23
6637157
WASHER
24
6570602
INSTRUCTIONS
Выбрано товаров: 0