Качественные детали и логистика
Оригинальные и аналоговые запчасти с доставкой по России, Казахстану и Беларуси
©2022 PartSell ООО "Система" ИНН 2463123282 ОГРН 1212400004838
Центральный офис: г. Красноярск, Академика Киренского, д.87, пом.4
Телефон: 8 (800) 777-65-74 Email: zakaz@partsell.ru
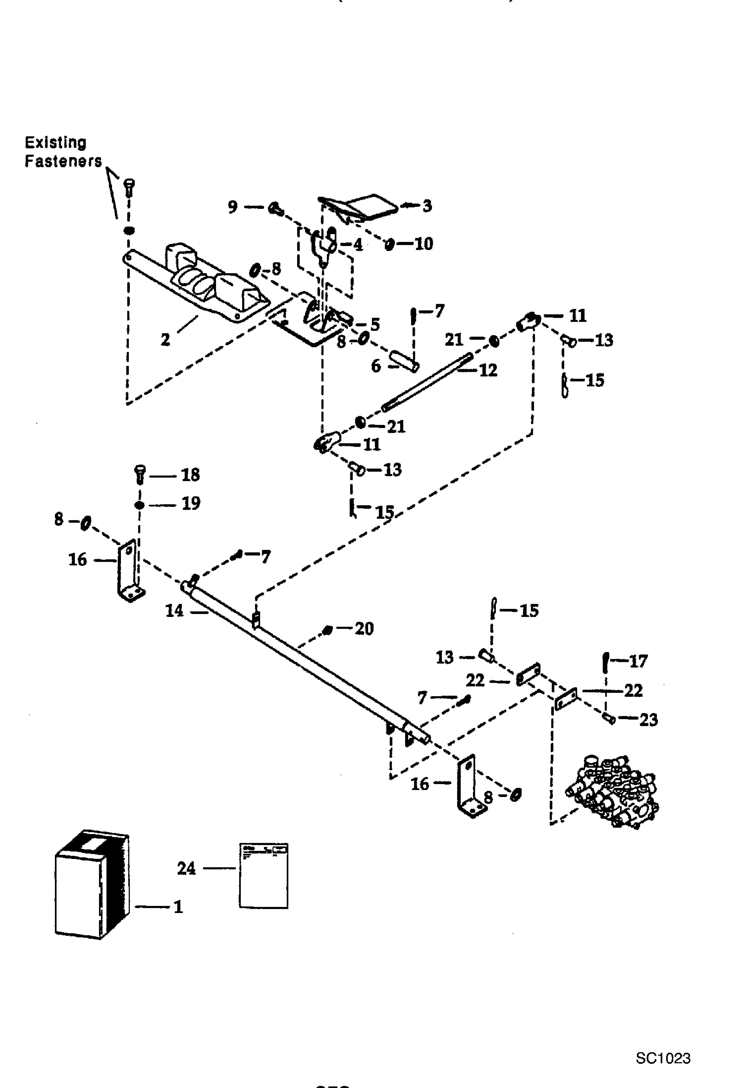
AUXILIARY HYDRAULICS (BOBCAT - 6.9GPM) (Control Pedal)
№
Артикул
Название
Примечание
Количество
1
NLA - Order individual parts
2
6638785
COVER See instructions for modification procedure
3
6530741
PEDAL
4
6632556
DISTRIBUT pivot - Was 6530748 - A
5
6530744
BASE
6
6530751
PIN
7
1F624
8
25E27
WASHER
9
17C514
BOLT
10
85D5
NUT 5
11
6564655
CLEVIS rod end
12
6530763
ROD
13
6564654
14
6530844
LINKAGE
15
1F208
16
6530756
BRACKET
17
1F308
PIN, COTTER
18
6636967
19
6637135
20
10H35
FITTING, GREASE 10
21
8D6
22
6530764
23
6560872
24
6570602
INSTRUCTIONS
Выбрано товаров: 0