Качественные детали и логистика
Оригинальные и аналоговые запчасти с доставкой по России, Казахстану и Беларуси
©2022 PartSell ООО "Система" ИНН 2463123282 ОГРН 1212400004838
Центральный офис: г. Красноярск, Академика Киренского, д.87, пом.4
Телефон: 8 (800) 777-65-74 Email: zakaz@partsell.ru
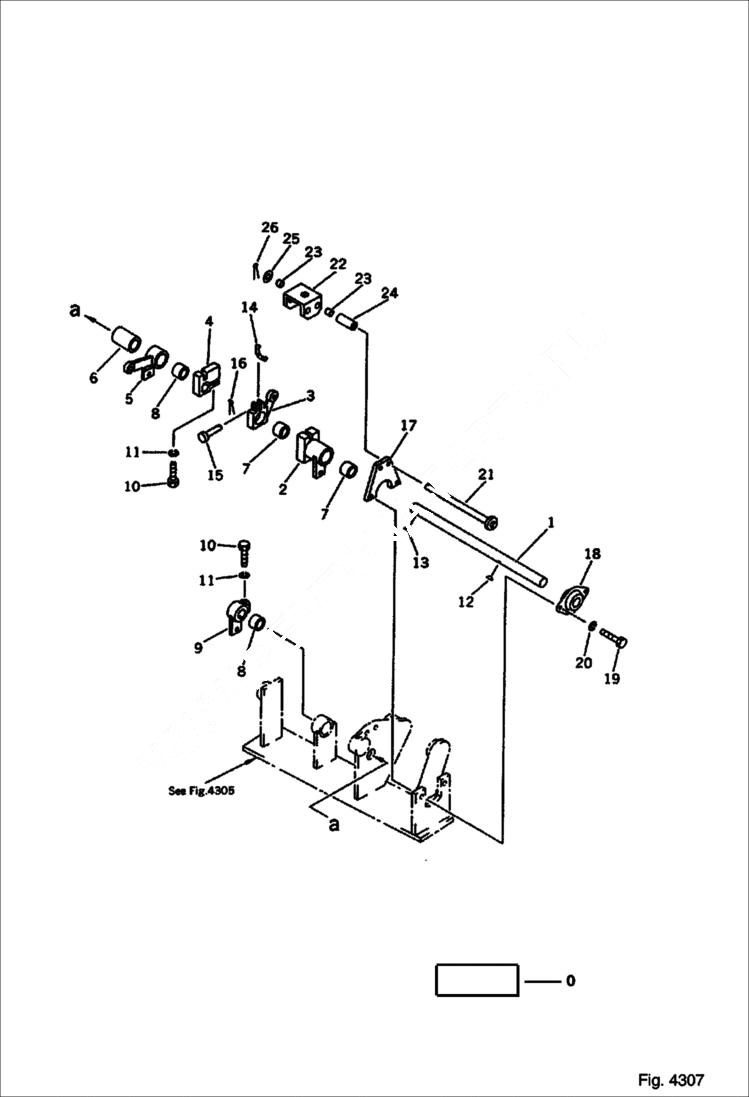
TRAVEL CONTROL LEVER (2/2) (FOR I.S.O. PATTERN)
№
Артикул
Название
Примечание
Количество
0
ARM GROUP Was 20S-43-X1400
1
SHAFT Was 20S-43-33420
2
LEVER Was 20S-43-33440
3
LEVER Was 20S-43-33430
4
LEVER Was 20S-43-31512
5
LEVER Was 20S-43-33470
6
COLLAR Was 20S-43-33510
7
BEARING Was 195-43-43190
8
6637894
BEARING
9
LEVER Was 20S-43-33460
10
6636960
BOLT
11
6637134
WASHER
12
6637172
KEY
13
6637173
14
PLATE Was 20S-43-31541
15
PIN Was 04205-10625
16
6637195
PIN, COTT
17
BRACKET Was 20S-43-31570
18
6642915
19
6636959
20
21
PIN Was 20S-43-31590
22
BRACKET Was 20S-43-33480
23
BUSHING Was 20S-43-31560
24
COLLAR Was 20S-43-33490
25
6637147
26
6637199
PIN, COTTER
Выбрано товаров: 0