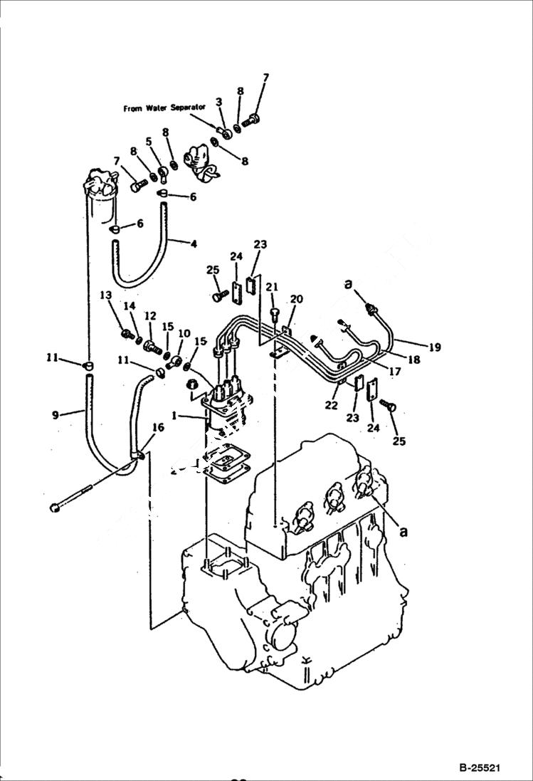
Запчасти Bobcat 100 FUEL INJECTION PUMP AND PIPING FUEL SYSTEM

Схема запчастей Bobcat 100 - FUEL INJECTION PUMP AND PIPING FUEL SYSTEM
FIT
1:1
100%

Артикул

Название

Примечание

Количество

1

6641000

PUMP,INJE

2

6640940

SHIM ASSY

3

6636331

CONNECTOR

4

6640969

HOSE ASSY

4

6641810

HOSE

5

6636331

CONNECTOR

6

6636803

CLAMP

7

6636338

BOLT

8

6636808

PACKING

9

6640968

HOSE ASSY

9

6641845

HOSE

10

6636307

CONNECTOR

11

6636803

CLAMP

12

6636319

BOLT

12

6636320

BOLT

13

PLUG NLA - Was 6636586 - A

14

6636910

PACKING washer - seal

15

6636327

PACKING

16

6636593

CLAMP

17

6641908

PIPE injection - No. 1

18

6641907

PIPE injection - No. 2

19

6641906

PIPE injection - No. 3

20

6641837

BRACKET

21

6641976

BOLT

22

6636556

SHIELD plate

23

6636580

SHIELD spacer

24

6636581

COVER

25

6641848

BOLT

Выбрано товаров: 28