Запчасти Bobcat 116 CYLINDER BLOCK CYLINDER BLOCK

Схема запчастей Bobcat 116 - CYLINDER BLOCK CYLINDER BLOCK
FIT
1:1
100%

Артикул

Название

Примечание

Количество

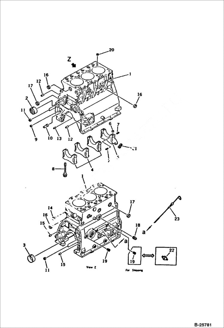
1

6674286

CYLINDER BLOCK ASSY Was 6201-21-1101

2

6640059

BUSHING

3

6662865

BUSHING

4

6640087

CAP main metal - No. 1,2,3

5

6643132

CAP NO 4 main metal

6

6639960

RING

7

6637182

PIN, ROLL

8

6640060

BOLT main cap

9

BUSHING, OIL PUMP Komatsu S/N 15936 & Abv. - Was 6204-51-1711

9

6640148

BUSHING oil pump - Komatsu S/N 13618-15935

10

6640147

SHAFT

11

6637457

PLUG

12

6637175

PIN, DOWEL

13

PIN, DOWEL Komatsu S/N 16011 & Abv. - Was 6136-52-1620

14

6637459

PLUG

15

6637177

PIN, DOWEL

16

6637461

PLUG

17

6637460

PLUG

17

6637460

PLUG Komatsu S/N 13618 & Abv.

18

PLUG Was 07042-10312

19

6637450

PLUG

20

6639957

DOWEL bushing

21

6639995

SEAL

22

6637719

SWITCH

23

GAUGE, OIL Komatsu S/N 15912 - Was 6201-21-5321

23

GAUGE, OIL Komatsu S/N 15314-15911 - Was 6201-21-5320

23

6639999

GAUGE oil - Komatsu S/N 13618-15313

Выбрано товаров: 27