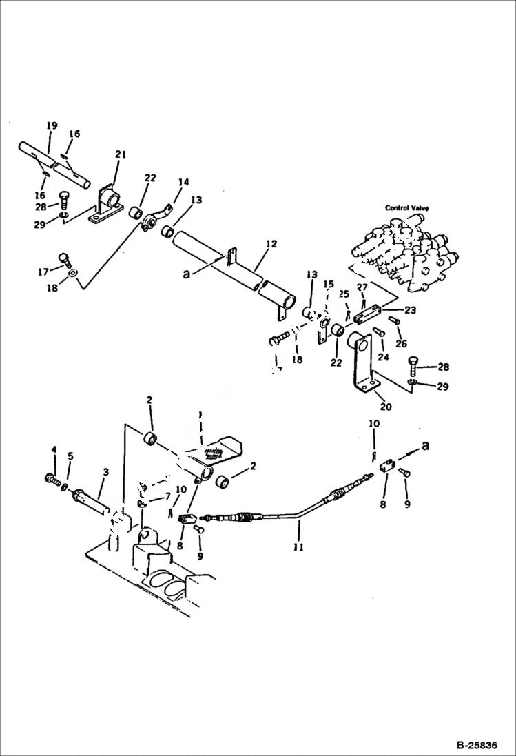
Запчасти Bobcat 116 CONTROL PEDAL (FOR BREAKER) CONTROL SYSTEM AND REVOLVING FRAME

Схема запчастей Bobcat 116 - CONTROL PEDAL (FOR BREAKER) CONTROL SYSTEM AND REVOLVING FRAME
FIT
1:1
100%

Артикул

Название

Примечание

Количество

1

PEDAL, (FOR BREAKER) Was 20S-970-3110

2

6637894

BEARING

3

SHAFT Was 20S-970-3120

4

6636959

BOLT

5

6637134

WASHER

6

6637743

BUMPER

7

6637109

NUT

8

6637266

YOKE

9

6637251

PIN

10

6637195

PIN, COTT

11

6646710

CABLE

12

6646711

LEVER

13

6637894

BEARING

14

6646712

LEVER

15

6638702

LEVER

16

6637173

KEY

17

6636960

BOLT

18

6637134

WASHER

19

6646713

SHAFT

20

6646714

BRACKET

21

6646758

BRACKET

22

6637894

BEARING

23

6638724

YOKE

24

6637255

PIN

25

6646717

COTER PIN

26

6637248

PIN

27

6637196

PIN, COTT

28

6636967

BOLT

29

6637135

WASHER

Выбрано товаров: 29