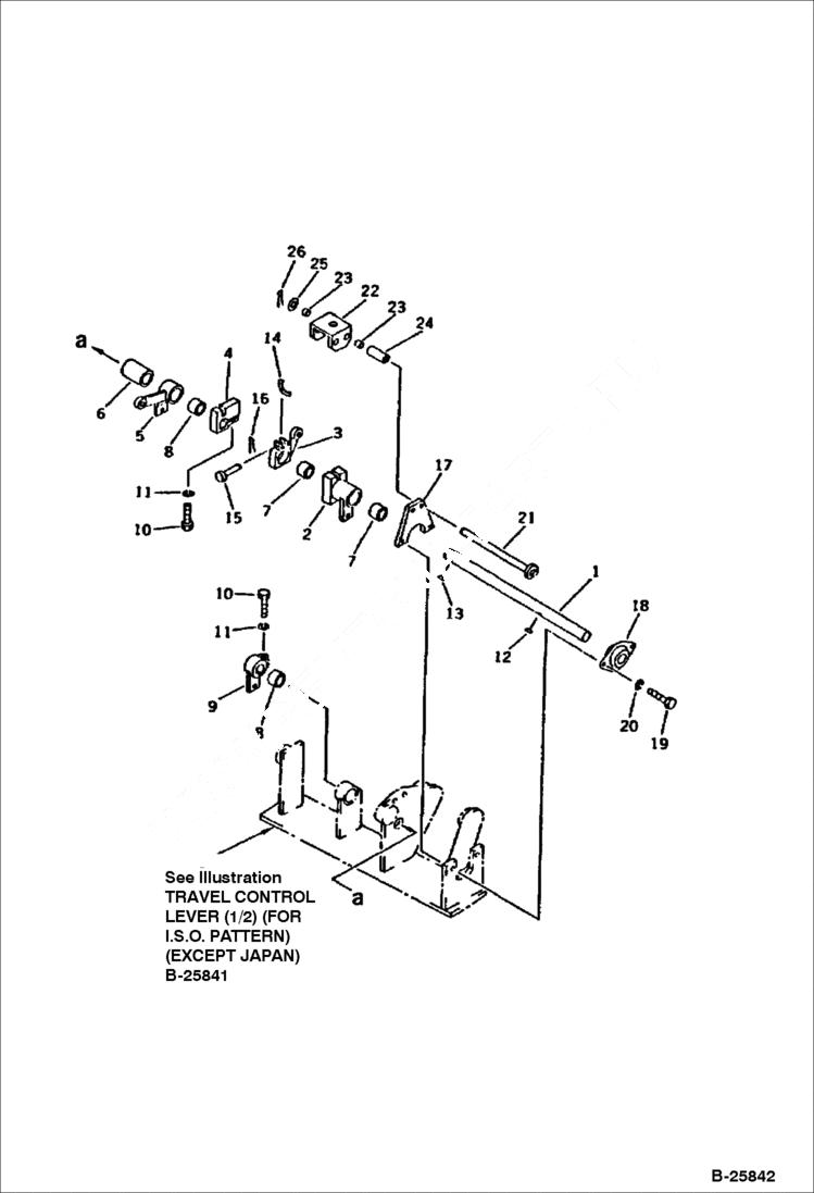
Запчасти Bobcat 116 TRAVEL CONTROL LEVER (2/2) (FOR I.S.O. PATTERN)(EXCEPT JAPAN) CONTROL SYSTEM AND REVOLVING FRAME

Схема запчастей Bobcat 116 - TRAVEL CONTROL LEVER (2/2) (FOR I.S.O. PATTERN)(EXCEPT JAPAN) CONTROL SYSTEM AND REVOLVING FRAME
FIT
1:1
100%

Артикул

Название

Примечание

Количество

1

SHAFT Was 20S-43-33420

2

LEVER Was 20S-43-33440

3

LEVER Was 20S-43-33430

4

LEVER Was 20S-43-31512

5

LEVER Was 20S-43-33470

6

COLLAR Was 20S-43-33510

7

BEARING Was 195-43-43190

8

6637894

BEARING

9

LEVER Was 20S-43-33460

10

6636960

BOLT

11

6637134

WASHER

12

6637172

KEY

13

6637173

KEY

14

PLATE Was 20S-43-31541

15

PIN Was 04205-10625

16

6637195

PIN, COTT

17

BRACKET Was 20S-43-31570

18

6642915

BEARING

19

6636959

BOLT

20

6637134

WASHER

21

PIN Was 20S-43-31590

22

BRACKET Was 20S-43-33480

23

BUSHING Was 20S-43-31560

24

COLLAR Was 20S-43-33490

25

6637147

WASHER

26

6637199

PIN, COTTER

Выбрано товаров: 26