Запчасти Bobcat 116 FLOOR (1/2) GUARD

Схема запчастей Bobcat 116 - FLOOR (1/2) GUARD
FIT
1:1
100%

Артикул

Название

Примечание

Количество

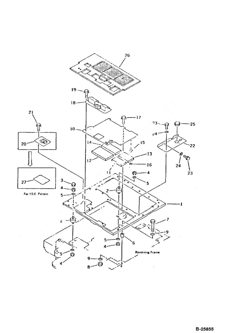
1

FRAME Was 20T-54-42110

2

6643115

CUSHION

3

6639463

NUT

4

6637109

NUT

5

6637158

WASHER

6

6639458

BOSS

7

6637000

BOLT

8

6637110

NUT

9

6637160

WASHER

10

FLOOR, (FOR I.S.O. PATTERN) Was 20S-54-36390

10

FLOOR, (FOR JAPAN) Was 20T-54-41360

11

FELT, (FOR JAPAN) Was 20T-54-41320

12

FELT, (FOR JAPAN) Was 20T-54-41330

13

FELT, (FOR JAPAN) Was 20T-54-41340

14

FELT, (FOR JAPAN) Was 20T-54-41350

15

CLIP, (FOR JAPAN) Was 04413-11000

16

PLATE (FOR JAPAN) Was 04413-30000

17

BOLT Was 01435-01016

18

6638785

COVER

19

6637092

BOLT

20

6638786

COVER

21

6637092

BOLT

22

COVER Was 20S-54-32190

23

6636966

BOLT

24

6637157

WASHER

25

6637760

CAP

26

6638790

SHIELD mat - floor

27

COVER for ISO pattern - Was 20S-54-34210

Выбрано товаров: 28