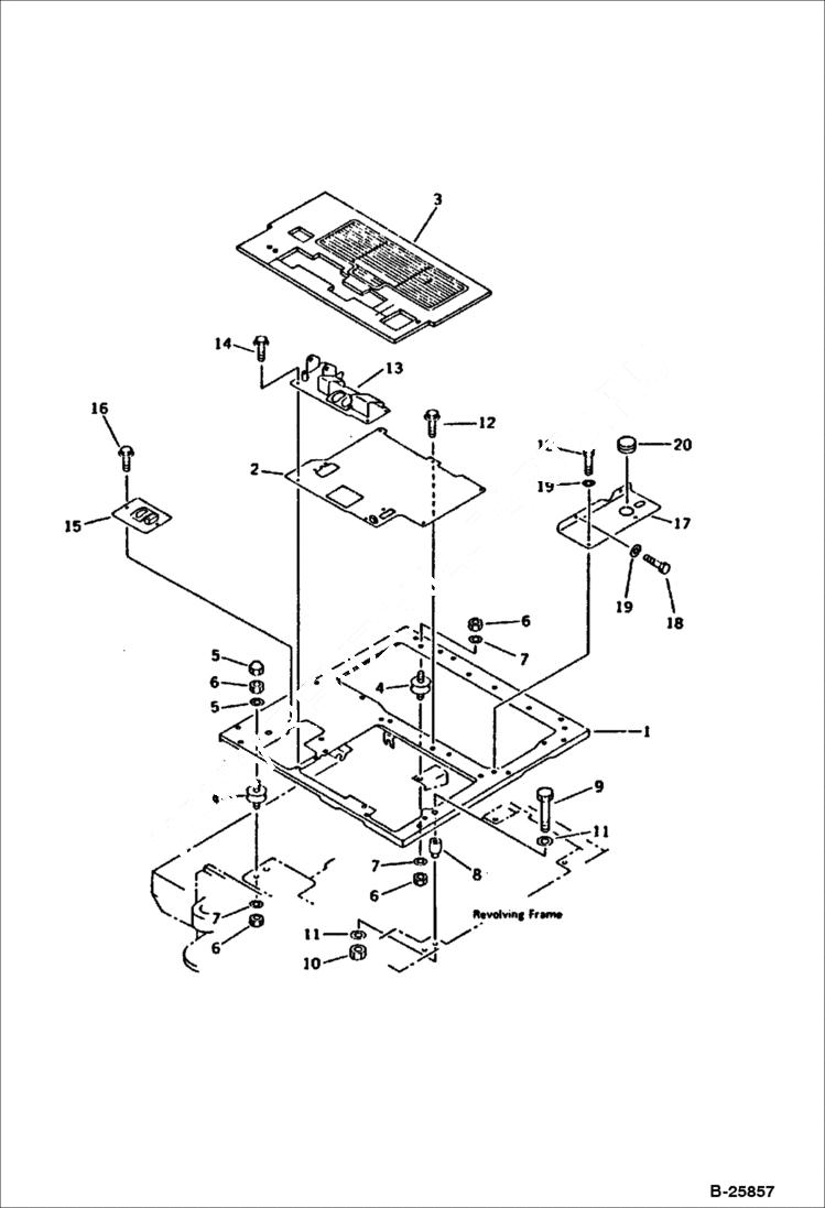
Запчасти Bobcat 116 FLOOR (1/2)(FOR BREAKER AND ATTACHMENT) GUARD

Схема запчастей Bobcat 116 - FLOOR (1/2)(FOR BREAKER AND ATTACHMENT) GUARD
FIT
1:1
100%

Артикул

Название

Примечание

Количество

1

FRAME Was 20T-970-4550

2

FLOOR Was 20T-970-4560

3

MAT Was 20S-973-2350

4

6643115

CUSHION

5

6639463

NUT

6

6637109

NUT

7

6637158

WASHER

8

6639458

BOSS

9

6637000

BOLT

10

6637110

NUT

11

6637160

WASHER

12

BOLT Was 01435-01016

13

COVER Was 20S-970-3370

14

6637092

BOLT

15

6638786

COVER

16

6637092

BOLT

17

COVER Was 20S-54-32190

18

6636966

BOLT

19

6637157

WASHER

20

6637760

CAP

Выбрано товаров: 20