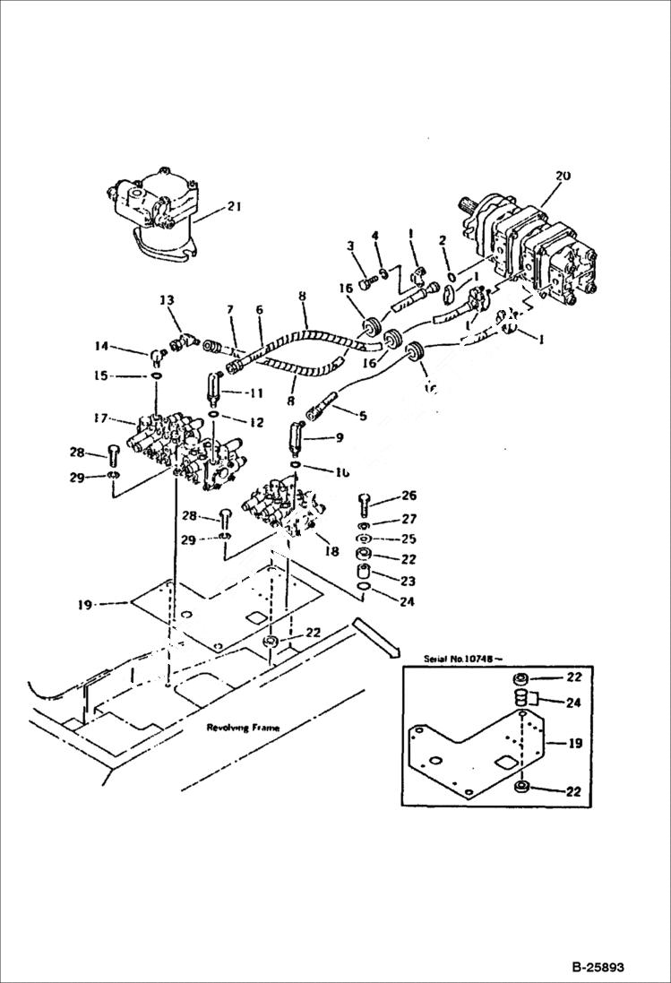
Запчасти Bobcat 116 HYDRAULIC PIPING (PUMP TO VALVE) (FOR BREAKER) WORK EQUIPMENT CONTROL SYSTEM

Схема запчастей Bobcat 116 - HYDRAULIC PIPING (PUMP TO VALVE) (FOR BREAKER) WORK EQUIPMENT CONTROL SYSTEM
FIT
1:1
100%

Артикул

Название

Примечание

Количество

1

6664321

FLANGE

2

6637374

O-RING

3

6636960

BOLT

4

6637134

WASHER

5

HOSE Was 20T-62-66490

6

HOOD Was 20T-62-66480

7

HOSE Was 20T-62-66470

8

6639218

COVER

9

6638588

ELBOW

10

6637417

O-RING

11

6638587

ELBOW

12

6637417

O-RING

13

6639557

TUBE

14

6637588

ELBOW

15

6637417

O-RING

16

6637703

GROMMET

17

VALVE ASSY See Illustration 6-SPOOL CONTROL VALVE (1/3)/ B25876 Was 709-36-12703

18

HYD UNIT GROUP See Illustration 3-SPOOL CONTROL VALVE (1/2)/ B25879 for breaker - Was 20T-970-X150

18

VALVE ASSY See Illustration 4-SPOOL CONTROL VALVE (1/2)/ B25881 Komatsu S/N 11696 & Abv. - Was 709-34-12202

18

VALVE ASSY See Illustration 4-SPOOL CONTROL VALVE (1/2)/ B25881 Komatsu S/N 10609-11695 - Was 709-34-12201

18

VALVE ASSY See Illustration 4-SPOOL CONTROL VALVE (1/2)/ B25881 Komatsu S/N 10001-10608 - Was 709-34-12200

19

BRACKET Komatsu S/N 10748 & Abv - Was 20S-60-35131

19

BRACKET Komatsu S/N 10001-10747 - Order 20S-60-35131, 203-62-58360 (6), 6637354 (9) - Was 20S-60-35130

20

6649200

PUMP ASY. See Illustration HYDRAULIC PUMP/ B25875

21

6649916

MTR.ASSY. See Illustration SWING MOTOR (1/2)(FOR BREAKER AND ATTACHMENT)/ 6443

22

CUSHION Was 203-62-58360

23

6639817

SHIM

24

6637354

O-RING Komatsu S/N 10748 & Abv

24

6637354

O-RING Komatsu S/N 10001-10747

25

6639907

SHIELD

26

6636984

BOLT

27

6637158

WASHER

28

6636959

BOLT

29

6637134

WASHER

Выбрано товаров: 34