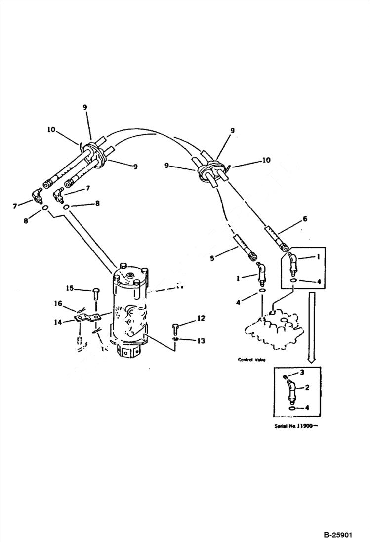
Запчасти Bobcat 116 HYDRAULIC PIPING (BLADE CYLINDER LINE) (CHASSIS SIDE) WORK EQUIPMENT CONTROL SYSTEM

Схема запчастей Bobcat 116 - HYDRAULIC PIPING (BLADE CYLINDER LINE) (CHASSIS SIDE) WORK EQUIPMENT CONTROL SYSTEM
FIT
1:1
100%

Артикул

Название

Примечание

Количество

1

6639571

ELBOW Komatsu S/N 11900 & Abv

1

6639571

ELBOW Komatsu S/N 10001-11899

2

ELBOW Komatsu S/N 11900 & Abv - Was 20S-62-31560

3

PLUG Komatsu S/N 11900 & Abv - Was 20S-62-31440

4

6637415

O-RING

5

HOSE Komatsu S/N 11574 & Abv - Was 20T-62-66590

5

6639582

HOSE Komatsu S/N 10001-11573

6

HOSE Komatsu S/N 11574 & Abv - Was 20T-62-66590

6

6639582

HOSE Komatsu S/N 10001-11573

7

6638590

ELBOW

8

6637417

O-RING

9

6643046

BUSHING

10

6637683

BAND

11

SWIVEL, JOINT ASSY See Illustration SWIVEL JOINT/ B25883 Was 703-08-13102

12

6636980

BOLT

13

6637136

WASHER

14

6642942

PLATE

15

6639080

PIN

16

6637215

PIN

Выбрано товаров: 19