Качественные детали и логистика
Оригинальные и аналоговые запчасти с доставкой по России, Казахстану и Беларуси
©2022 PartSell ООО "Система" ИНН 2463123282 ОГРН 1212400004838
Центральный офис: г. Красноярск, Академика Киренского, д.87, пом.4
Телефон: 8 (800) 777-65-74 Email: zakaz@partsell.ru
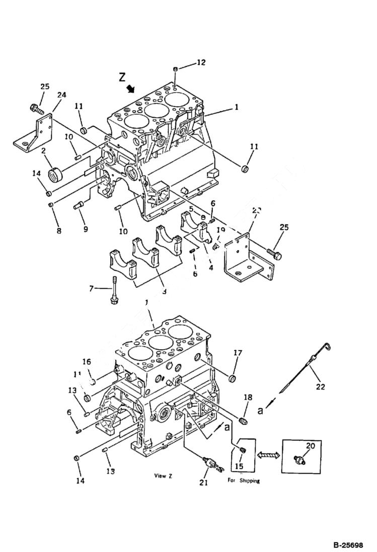
CYLINDER BLOCK
№
Артикул
Название
Примечание
Количество
1
6639993
BLOCK ASSY cylinder
BLOCK ASSY cylinder - Was 6639994 - A
2
6640059
BUSHING camshaft
3
6640087
CAP main metal - No. 1,2,3
6640058
4
6643132
CAP NO 4 main metal
CAP NO 4 main metal - Was 6201-21-1220
5
6639960
RING
6
6637182
PIN, ROLL
7
6640060
BOLT main cap
8
6640148
BUSHING oil pump
9
6640147
SHAFT oil pump
10
6637175
PIN, DOWEL
11
6637461
PLUG
12
6639957
DOWEL
13
6637177
14
6637454
15
6637450
16
6637459
17
6637460
18
6637440
19
6639995
SEAL (K2)
20
6637719
SWITCH oil pressure
21
6643118
22
6639999
GAUGE oil
23
6643131
SUPPORT L.H.
24
6643130
SUPPORT R.H.
25
6642026
BOLT
Выбрано товаров: 0