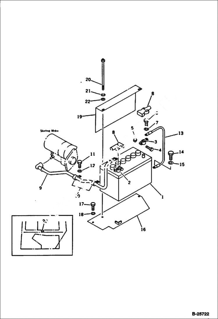
Запчасти Bobcat 116 BATTERY FOR COLD WEATHER ENGINE RELATED PARTS AND ELECTRICAL SYSTEM

Схема запчастей Bobcat 116 - BATTERY FOR COLD WEATHER ENGINE RELATED PARTS AND ELECTRICAL SYSTEM
FIT
1:1
100%

Артикул

Название

Примечание

Количество

1

BATTERY Was 20T-06-21130

2

6640837

TERMINAL pos.

3

6640838

TERMINAL neg.

4

6636944

BOLT

5

6637107

NUT

6

6642013

BOLT

7

6640819

WASHER

8

6637711

CAP

9

6639000

WIRE

10

6637690

CLIP

11

6636965

BOLT

12

6637150

WASHER

13

6638545

WIRE

14

6636965

BOLT

15

6637135

WASHER

16

6639002

BRACKET

17

6636957

BOLT

18

6637134

WASHER

19

HOLDER Was 20T-06-32110

20

6638625

ROD

21

6637134

WASHER

22

6637146

WASHER

23

6643122

PLATE, CA caution

Выбрано товаров: 23