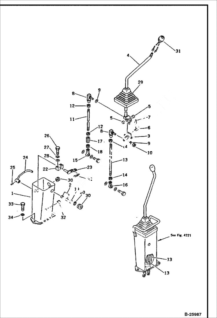
Запчасти Bobcat 130 SPECIAL WORK EQUIPMENT CONTROL STAND 2/2 CONTROL SYSTEM

Схема запчастей Bobcat 130 - SPECIAL WORK EQUIPMENT CONTROL STAND 2/2 CONTROL SYSTEM
FIT
1:1
100%

Артикул

Название

Примечание

Количество

1

6639732

STAND RH

2

6639170

BUSHING

3

6639280

YOKE

4

6639178

LEVER RH

5

6639170

BUSHING

6

6637245

PIN

7

6637203

PIN, COTT

8

6639406

CONNECTOR

9

6637157

WASHER

10

6637113

NUT

11

6637282

ROD

12

6637113

NUT

13

6637283

ROD

14

6637113

NUT

15

END LH threads - Was 04252-11061

16

6637307

END

17

BUCKLE turn - Was 20X-43-24260

18

6637100

NUT LH thread

19

6637148

WASHER

20

6637217

SNAP RING

21

6639169

SPRING

22

6639283

BLOCK

23

6639282

LEVER

24

6639285

LEVER RH

25

6637188

PIN, ROLL

26

6636962

BOLT

27

6637134

WASHER

28

6637156

WASHER

29

6639733

BOOT

30

6637758

CAP

31

6649138

SWITCH horn

32

6637700

GROMMET

33

6636980

BOLT

34

6637158

WASHER

Выбрано товаров: 34