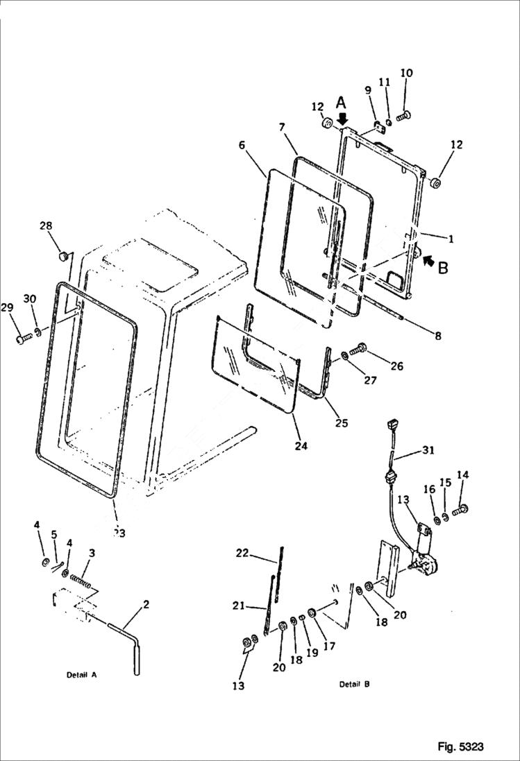
Запчасти Bobcat 130 OPERATORS CAB 2/6 REVOLVING FRAME, GUARD AND CAB

Схема запчастей Bobcat 130 - OPERATORS CAB 2/6 REVOLVING FRAME, GUARD AND CAB
FIT
1:1
100%

Артикул

Название

Примечание

Количество

1

OPERATOR'S CAB ASS'Y See Illustration OPERATOR'S CAB/ 5321 See Illustration OPERATOR'S CAB/ 5325 See Illustration OPERATOR'S CAB/ 5331 See Illustration OPERATOR'S CAB/ 5329 See Illustration OPERATOR'S

1

6643076

WINDOW ASSY front

1

6639296

FRONT window

2

6639361

PIN

3

6639293

SPRING

4

6637147

WASHER

5

6637198

PIN, COTTER

6

6639298

GLASS

7

6639304

STRIP, WE weather

8

6639313

PAD, TRIM

9

6639357

STRIKER

10

6637044

SCREW

11

6639367

WASHER

12

6639359

ROLLER

13

6639267

MOTOR, WI wiper

14

6637033

SCREW

15

6637126

WASHER

16

6637144

WASHER

17

6639258

GROMMET

18

6639261

WASHER

19

6639259

COLLAR

20

6639260

NUT

21

6639268

ARM, WIPE

22

6639262

BLADE

23

6639303

PAD, TRIM

24

6639378

GLASS ASSY

25

6639360

BRACKET

26

6636953

BOLT

27

6637155

WASHER

28

6637757

CAP

29

6637027

SCREW

30

6637125

WASHER

31

6639157

WIRE

Выбрано товаров: 33