Запчасти Bobcat 130 SERVO VALVE Front 1/2 HYDRAULIC SYSTEM

Схема запчастей Bobcat 130 - SERVO VALVE Front 1/2 HYDRAULIC SYSTEM
FIT
1:1
100%

Артикул

Название

Примечание

Количество

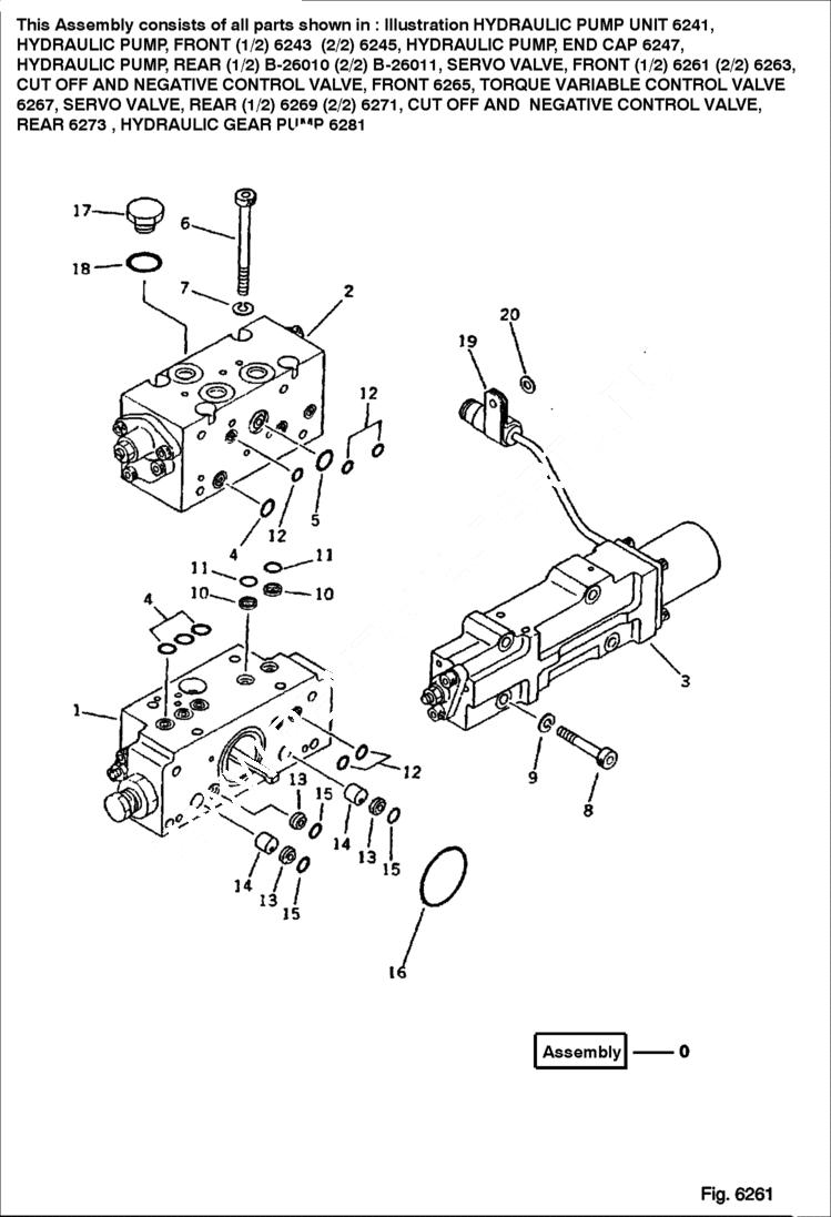
0

6651244

PUMP hydraulic assy. (HPV 35+35)

0

PUMP ASSY hydraulic (HPV 35+35) - Was 708-21-01031

0

PUMP ASSY hydraulic (HPV 35+35) - Was 708-21-01030

0

6640466

PUMP ASSY hydraulic (HPV 35+35)

0

6651245

SERVO See Illustration SERVO VALVE/ 6263 See Illustration TORQUE VARIABLE CONTROL VALVE/ 6267 See Illustration CUT OFF AND NEGATIVE CONTROL VALVE/ 6265 valve assembly - front

0

VALVE ASSY See Illustration SERVO VALVE/ 6263 See Illustration TORQUE VARIABLE CONTROL VALVE/ 6267 See Illustration TORQUE VARIABLE CONTROL VALVE/ 6267 servo - front - Was 708-21-07110

0

6640474

VALVE ASSY See Illustration SERVO VALVE/ 6263 See Illustration TORQUE VARIABLE CONTROL VALVE/ 6267 See Illustration SERVO VALVE/ 6263 servo - front

1

6640475

VALVE ASSY

2

VALVE ASSY CO and NC - Was 708-21-07511

2

VALVE ASSY CO and NC - Was 708-21-07510

2

6640478

VALVE ASSY CO and NC

3

VALVE ASSY T.V.C. - Was 708-21-07710

3

6640480

VALVE ASSY T.V.C.

4

6637335

O-RING

5

6637340

O-RING

6

6640519

BOLT

7

6637134

WASHER

8

6640518

BOLT

9

6637134

WASHER

10

6640600

FILTER

11

6637368

O-RING

12

6637367

O-RING

13

6640600

FILTER

14

6640481

ORIFICE

15

6637368

O-RING

16

6637361

O-RING

17

6637435

PLUG

18

6637409

O-RING

19

6637697

CLIP

20

6637156

WASHER

Выбрано товаров: 30