Запчасти Bobcat 130 SERVO VALVE Front 2/2 HYDRAULIC SYSTEM

Схема запчастей Bobcat 130 - SERVO VALVE Front 2/2 HYDRAULIC SYSTEM
FIT
1:1
100%

Артикул

Название

Примечание

Количество

0

6651244

PUMP hydraulic assy. (HPV 35+35)

0

PUMP ASSY hydraulic (HPV 35+35) - Was 708-21-01031

0

PUMP ASSY hydraulic (HPV 35+35) - Was 708-21-01030

0

6640466

PUMP ASSY hydraulic (HPV 35+35)

0

6651245

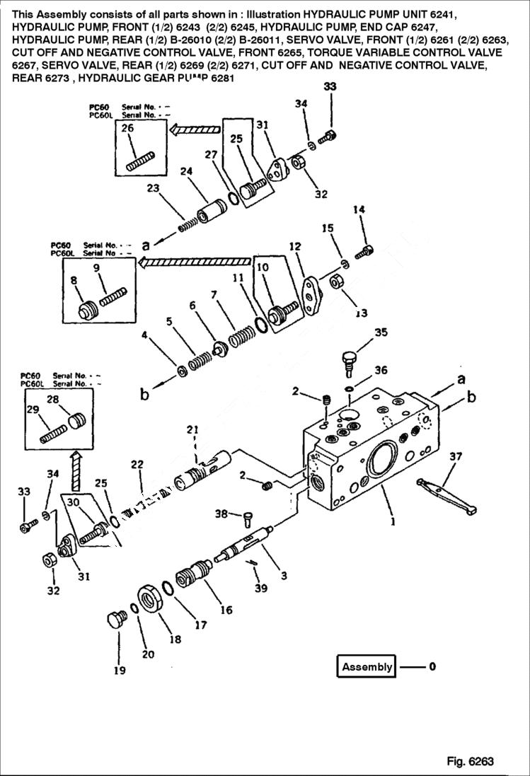
SERVO See Illustration SERVO VALVE/ 6261 See Illustration TORQUE VARIABLE CONTROL VALVE/ 6267 See Illustration CUT OFF AND NEGATIVE CONTROL VALVE/ 6265 valve assembly - front

0

VALVE ASSY See Illustration SERVO VALVE/ 6261 See Illustration TORQUE VARIABLE CONTROL VALVE/ 6267 See Illustration CUT OFF AND NEGATIVE CONTROL VALVE/ 6265 servo - front - Was 708-21-07110

0

6640474

VALVE ASSY See Illustration SERVO VALVE/ 6261 See Illustration TORQUE VARIABLE CONTROL VALVE/ 6267 See Illustration CUT OFF AND NEGATIVE CONTROL VALVE/ 6265 servo - front

0

6640475

VALVE ASSY servo - front - sub

1

BODY ASS'Y Was 708-23-07011

1

BODY ASSY Was 708-25-07010

1

BODY Was 708-25-16110

2

6640505

EXPANDER plug

2

PLUG Was 720-68-19740

3

PISTON Was 708-25-15120

4

SEAT Was 708-25-15130

5

SPRING Was 708-23-25110

6

6640484

GASKET seat

7

6640485

SPRING

8

PLUG Was 708-23-15160

9

SCREW Was 708-23-15340

10

6640486

PLUG

11

6637340

O-RING

12

6640494

COVER

13

6637107

NUT

14

6640502

BOLT

14

6637050

BOLT

15

6637133

WASHER

16

6640495

PLUG

17

6637410

O-RING

18

6637592

NUT

19

6637434

PLUG

20

6637407

O-RING

21

6640496

SLEEVE

22

6640500

SPOOL

23

6640501

SPRING

24

6640503

SPACER

24

SPACER Was 708-25-15290

25

6640497

PLUG

26

6640504

SCREW

27

6637336

O-RING

28

PLUG Was 708-25-15430

29

6640504

SCREW

30

6640497

PLUG

31

6640498

COVER

32

6637107

NUT

33

6640502

BOLT

33

6637050

BOLT

34

6637133

WASHER

35

6640499

PLUG

36

6637406

O-RING

37

6640487

ARM

38

6637244

PIN

39

6637192

PIN, COTT

Выбрано товаров: 53