Запчасти Bobcat 130 CONTROL VALVE, R.H. 2/3 HYDRAULIC SYSTEM

Схема запчастей Bobcat 130 - CONTROL VALVE, R.H. 2/3 HYDRAULIC SYSTEM
FIT
1:1
100%

Артикул

Название

Примечание

Количество

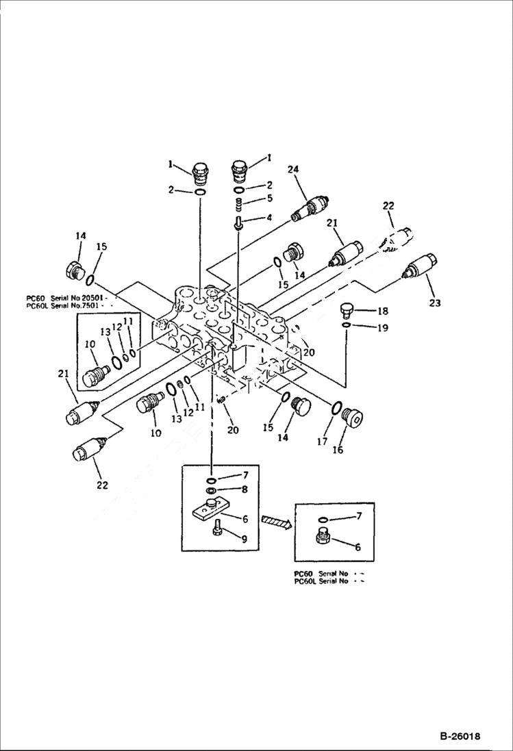
1

6640543

VALVE ASY See Illustration CONTROL VALVE, R.H./ B26019 See Illustration CONTROL VALVE, R.H./ B26017 control - R.H.

1

6646874

PLUG

2

6637373

O-RING

4

6640539

VALVE

5

6640540

SPRING

6

6643222

PLATE

6

6640261

PLUG

7

6640243

O-RING

7

6637417

O-RING

8

6640259

RING

9

6636958

BOLT

10

6640541

PLUG

10

6640541

PLUG

11

6637368

O-RING

11

6637368

O-RING

12

6637394

RING, BAC

12

6637394

RING, BAC

13

6640542

O-RING

13

6640542

O-RING

14

6640261

PLUG

15

6637417

O-RING

16

6637439

PLUG

17

6637412

O-RING

18

6637435

PLUG

19

6637409

O-RING

20

6637452

PLUG

21

VALVE ASSY suction & safety - Was 709-20-61201

22

VALVE ASSY suction & safety - Was 709-20-61102

23

VALVE ASSY suction & safety - Was 709-20-61301

24

6643221

VALVE ASSY relief

Выбрано товаров: 30