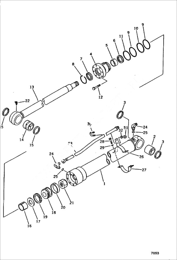
Запчасти Bobcat 130 ARM CYLINDER WORK EQUIPMENT

Схема запчастей Bobcat 130 - ARM CYLINDER WORK EQUIPMENT
FIT
1:1
100%

Артикул

Название

Примечание

Количество

1

6639101

ARM CYL

1

6639110

CYLINDER,

2

6640448

BUSHING

3

6637537

SEAL, DUS

4

6640391

CYL HEAD

5

6637567

BUSHING

6

6640436

PACKING

7

6637871

SEAL, DUS

8

6637575

RING, SNA

9

6637381

O-RING

10

6637403

RING, BAC

11

6640403

RING

12

6637003

BOLT

13

6639109

ROD piston

14

6640447

BUSHING

15

6637537

SEAL, DUS

16

6640446

PISTON plunger

17

6643214

WASHER

18

6640418

PISTON

19

6640426

RING

20

6637546

RING, WEAR

21

6637559

NUT

22

6637431

FITTING

23

6639111

TUBE

24

6637588

ELBOW

25

6637417

O-RING

26

6640456

BAND

27

6640457

BAND

28

6636969

BOLT

29

6637135

WASHER

30

6637637

CLIP

31

6637122

NUT

32

6637157

WASHER

Выбрано товаров: 33