Запчасти Bobcat 130 BUCKET CYLINDER WORK EQUIPMENT

Схема запчастей Bobcat 130 - BUCKET CYLINDER WORK EQUIPMENT
FIT
1:1
100%

Артикул

Название

Примечание

Количество

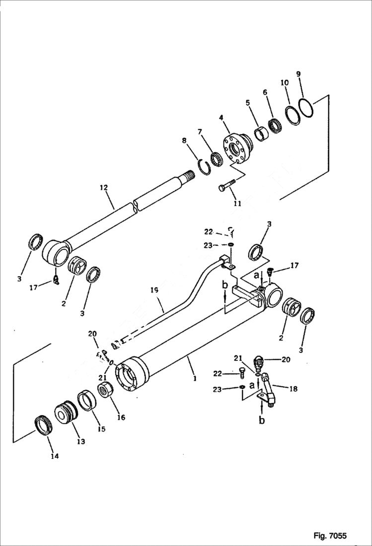
1

6639102

CYLINDER

1

6639112

CYLINDER

2

6640447

BUSHING

3

6637537

SEAL, DUS

4

6640389

CYL HEAD

5

6637566

BUSHING

6

6640435

PACKING

7

6640439

SEAL, DUST

8

6637574

RING, SNAP

9

6637381

O-RING

10

6637403

RING, BAC

11

6637003

BOLT

12

6639838

ROD piston

13

6640417

PISTON

14

6640426

RING

15

6637546

RING, WEAR

16

6637558

NUT

17

6637431

FITTING

18

6639114

TUBE

19

6639113

TUBE

20

6637588

ELBOW

21

6637417

O-RING

22

6636966

BOLT

23

6637157

WASHER

Выбрано товаров: 24