Запчасти Bobcat 130 FRONT BLADE OPTIONAL PARTS

Схема запчастей Bobcat 130 - FRONT BLADE OPTIONAL PARTS
FIT
1:1
100%

Артикул

Название

Примечание

Количество

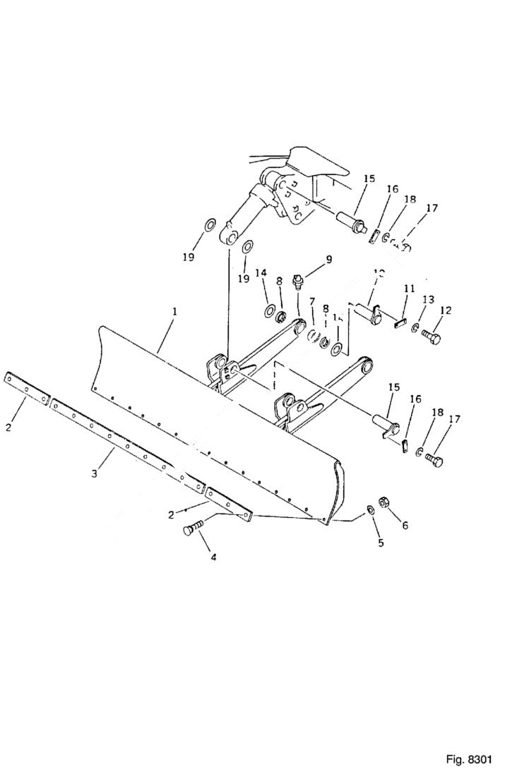
1

BLADE Was 201-910-5110

2

6646880

CUT EDGE

3

6646881

CUT EDGE

4

6642047

BOLT

5

6637159

WASHER

6

6642048

NUT

7

6637530

BUSHING

8

6637536

SEAL, DUST

9

6637431

FITTING

10

6646882

SHAFT

11

6639118

SHIELD

12

6636980

BOLT

13

6637136

WASHER

14

6638917

SHIM 1,00 mm

14

6638918

SHIM 2,3 mm

15

6646883

SHAFT

16

6639118

SHIELD

17

6636980

BOLT

18

6637136

WASHER

19

6638917

SHIM 1,00 mm

Выбрано товаров: 20