Запчасти Bobcat 130 CYLINDER BLOCK CYLINDER BLOCK

Схема запчастей Bobcat 130 - CYLINDER BLOCK CYLINDER BLOCK
FIT
1:1
100%

Артикул

Название

Примечание

Количество

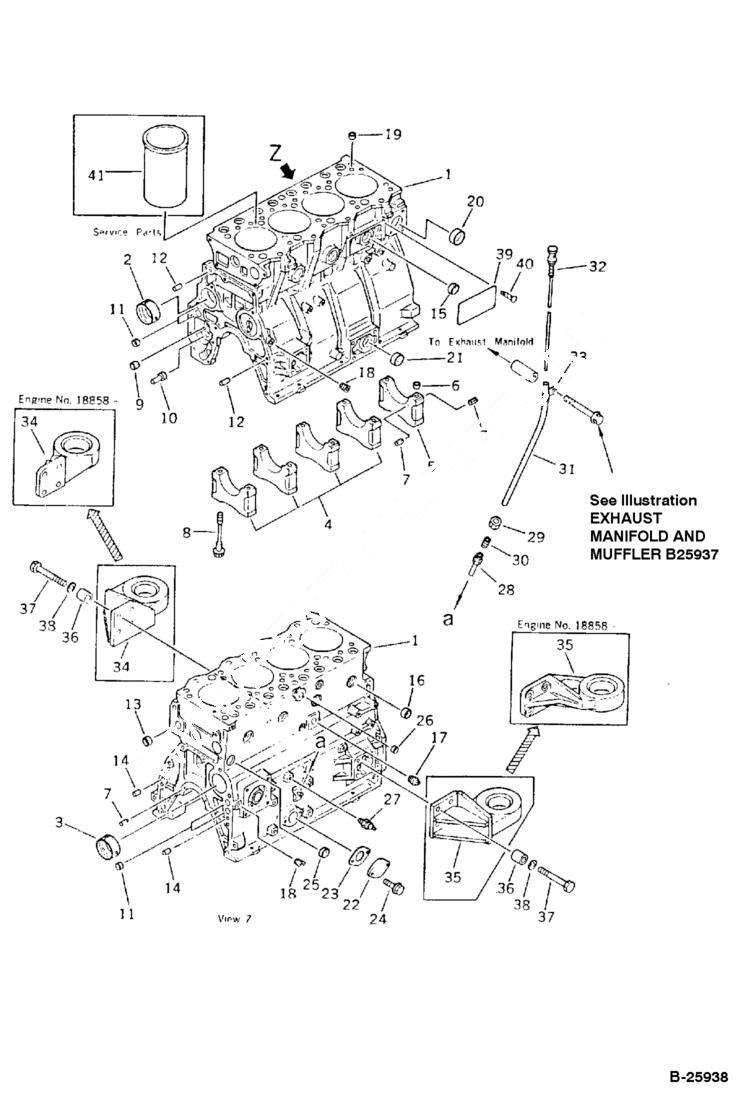
1

6640056

BLOCK, CY Komatsu S/N 15548-35213

1

6640057

BLOCK Komatsu S/N 35214 & Abv.

2

6640059

BUSHING

3

6662865

BUSHING Komatsu S/N 35214 & Abv.

4

6640087

CAP

5

6640088

CAP

6

6639960

RING bushing - dowel

7

6637182

PIN, ROLL Komatsu S/N 15548-35286

7

6637182

PIN, ROLL Komatsu S/N 35287 & Abv.

8

6640060

BOLT

9

6640148

BUSHING oil pump

10

6640147

SHAFT oil pump

11

6637457

PLUG

12

6637175

PIN, DOWEL

13

6637459

PLUG

14

6637177

PIN, DOWEL

15

6637461

PLUG

16

6637460

PLUG

17

PLUG Was 07042-10312

18

6637450

PLUG

19

6639957

DOWEL

20

6637462

PLUG

21

6637455

PLUG

22

TUBE Was 6204-21-6721

23

6639949

GASKET

24

6637080

BOLT

25

6637459

PLUG

26

6642096

PLUG

27

6637719

SWITCH oil pressure

28

6640080

GUIDE oil gauge

29

6639973

NUT

30

6639972

COLLAR

31

6640079

GUIDE

32

6640078

GAUGE, OIL

33

6640190

CLIP

34

6639655

BRACKET L.H. - Komatsu S/N 15548-18857

34

6642976

BRACKET L.H. - Komatsu S/N 18858 & Abv.

35

6639654

BRACKET R.H. - Komatsu S/N 15548-18857

35

6642975

BRACKET R.H. - Komatsu S/N 18858 & Abv.

36

6637875

SHEET seat

37

6636973

BOLT

38

6637157

WASHER

39

6637774

SHIELD plate - name - limited supply

40

6637319

SCREW

41

LINER, CYLINDER (A) - Was 6207-21-2110

41

6667801

CYLINDER (B)

Выбрано товаров: 46