Запчасти Bobcat 220 VALVE SECTION HYDRAULIC SYSTEM

Схема запчастей Bobcat 220 - VALVE SECTION HYDRAULIC SYSTEM
FIT
1:1
100%

Артикул

Название

Примечание

Количество

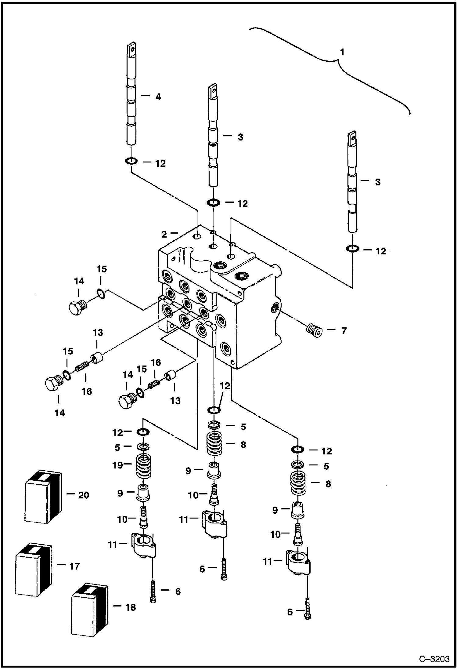
1

6656290

VALVE W/Ref. 2-16

2

HOUSING NSS - Order Ref. 1

3

SPOOL NSS - Order Ref. 1 - Boom -ISO or Arm - standard & bucket

4

SPOOL NSS - Order Ref. 1

5

WASHER NSS - Order Ref. 17 or 20

6

BOLT NSS - Order Ref. 17 or 20

7

6656422

PLUG

8

SPRING NSS - Order Ref. 17

9

SPACER NSS - Order Ref. 17 or 20

10

BOLT NSS - Order Ref. 17 or 20

11

END CAP NSS - Order Ref. 17 or 20

12

6685530

O-RING Was 6656431 - A

13

6656428

POPPET VALVE

14

6656429

PLUG W/Ref. 15

15

6656432

O-RING

16

6599472

SPRING Was 6656430 - A

17

6656434

KIT spring centering - W/Ref. 5, 6 & 8-11

18

6656433

KIT load check - W/Ref. 13-16

19

SPRING NSS - Order Ref. 20

20

6660259

KIT spring centering - W/Ref. 5, 6, 9-11 & 19

Выбрано товаров: 20