Запчасти Bobcat 220 INJECTION PUMP POWER UNIT

Схема запчастей Bobcat 220 - INJECTION PUMP POWER UNIT
FIT
1:1
100%

Артикул

Название

Примечание

Количество

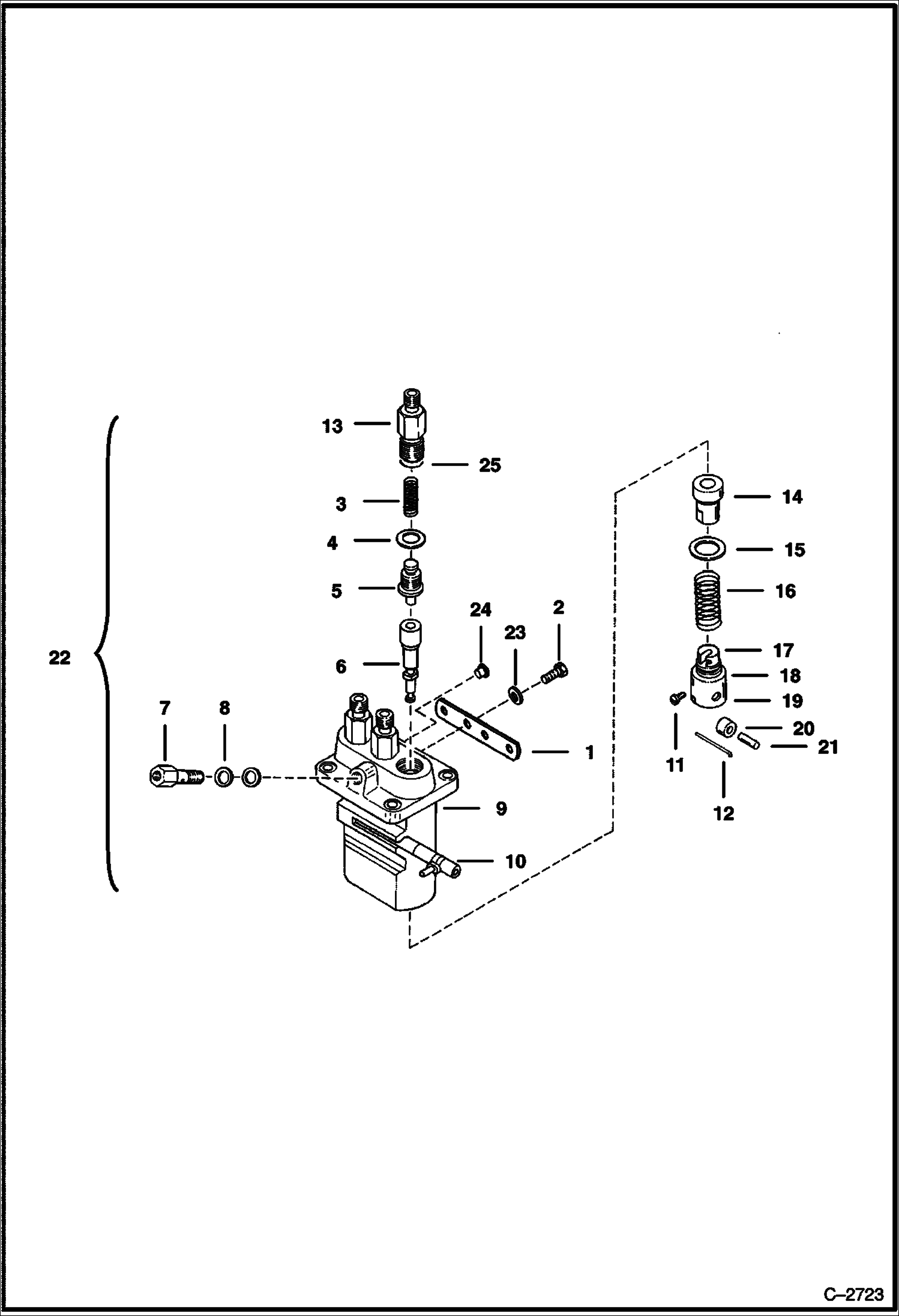
1

6599007

PLATE

2

6599073

BOLT

3

6599100

SPRING

4

6599117

GASKET

5

6598988

VALVE

6

6598989

ELEMENT

7

6652667

SCREW Was 6648904 - A

8

6698120

GASKET Was 3974403 - A

9

HOUSING NSS

10

6599053

RACK

11

6599103

PIN

12

6599104

PIN

13

6599055

HOLDER

14

6599058

SLEEVE

15

6599056

SEAT

16

6652666

SPRING

17

6599057

SEAT

18

6599135

SHIM

19

6599054

TAPPET ASSY W/Ref. 20 & 21

20

ROLLER NSS

21

PIN NSS

22

6652665

PUMP injection - W/Ref. 1-21 & 23-25

23

6599092

WASHER

24

6599059

COLLAR

25

3966515

O RING Was 6599082 - A

Выбрано товаров: 25