Качественные детали и логистика
Оригинальные и аналоговые запчасти с доставкой по России, Казахстану и Беларуси
©2022 PartSell ООО "Система" ИНН 2463123282 ОГРН 1212400004838
Центральный офис: г. Красноярск, Академика Киренского, д.87, пом.4
Телефон: 8 (800) 777-65-74 Email: zakaz@partsell.ru
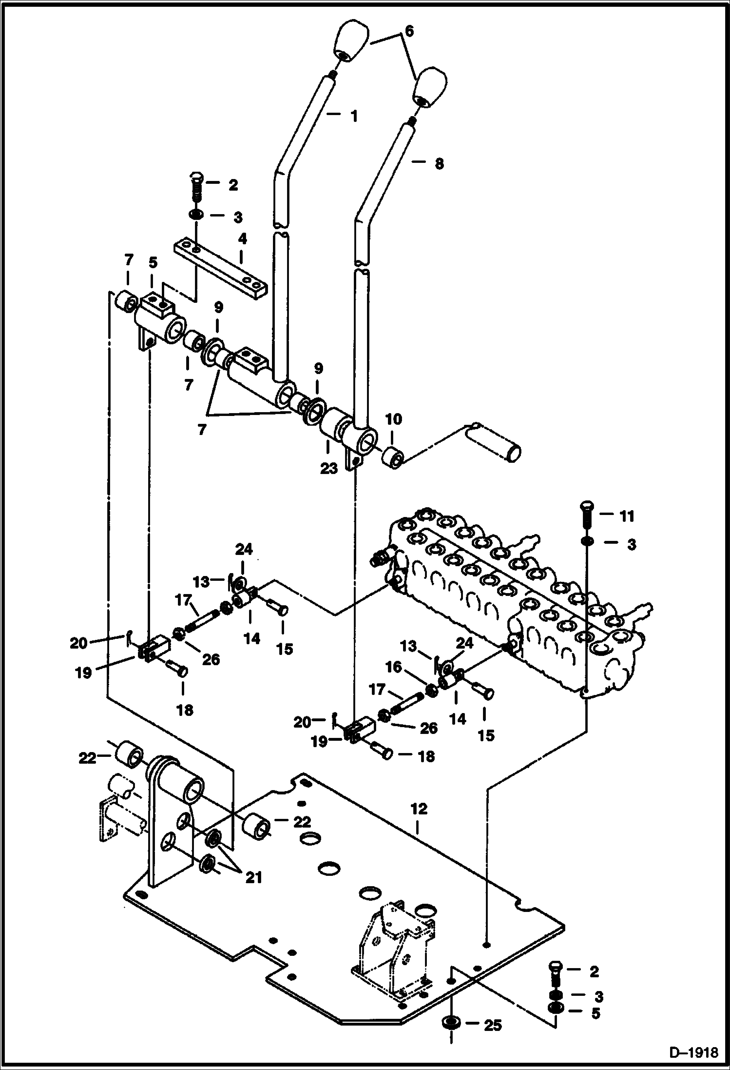
TRAVEL CONTROLS (S/N 508211001-11308)
№
Артикул
Название
Примечание
Количество
1
6533990
LEVER
2
1CM1020
BOLT
3
6EM100
WASHER
4
6533988
PLATE
5
6533989
LEVER W/Ref. 7
6
6535015
KNOB Was 6535017 - A
7
6652556
BUSHING
8
6533717
LEVER W/Ref. 10
9
6534701
SHIM
10
6651904
11
1CM1030
12
6533733
PLATE W/Ref. 21 & 22
13
13JM10016
COTTERPIN
14
YOKE NLA - 8 mm - Was 6533799 - A
15
6534700
PIN
16
1DM8
NUT
17
6533790
ROD 8 mm
18
PIN NLA - Was 6533788 - A
19
6533786
YOKE 8 mm thread - L.H.
20
13JM20016
SPLIT PIN
21
6651905
22
6651908
23
6535028
SPACER
24
6535011
25
15EM100
26
6533905
NUT 8 mm thread - L.H.
Выбрано товаров: 0