Запчасти Bobcat 225 CONTROL VALVE ASSEMBLY 3-Spool 12024 & Above HYDRAULIC SYSTEM

Схема запчастей Bobcat 225 - CONTROL VALVE ASSEMBLY 3-Spool 12024 & Above HYDRAULIC SYSTEM
FIT
1:1
100%

Артикул

Название

Примечание

Количество

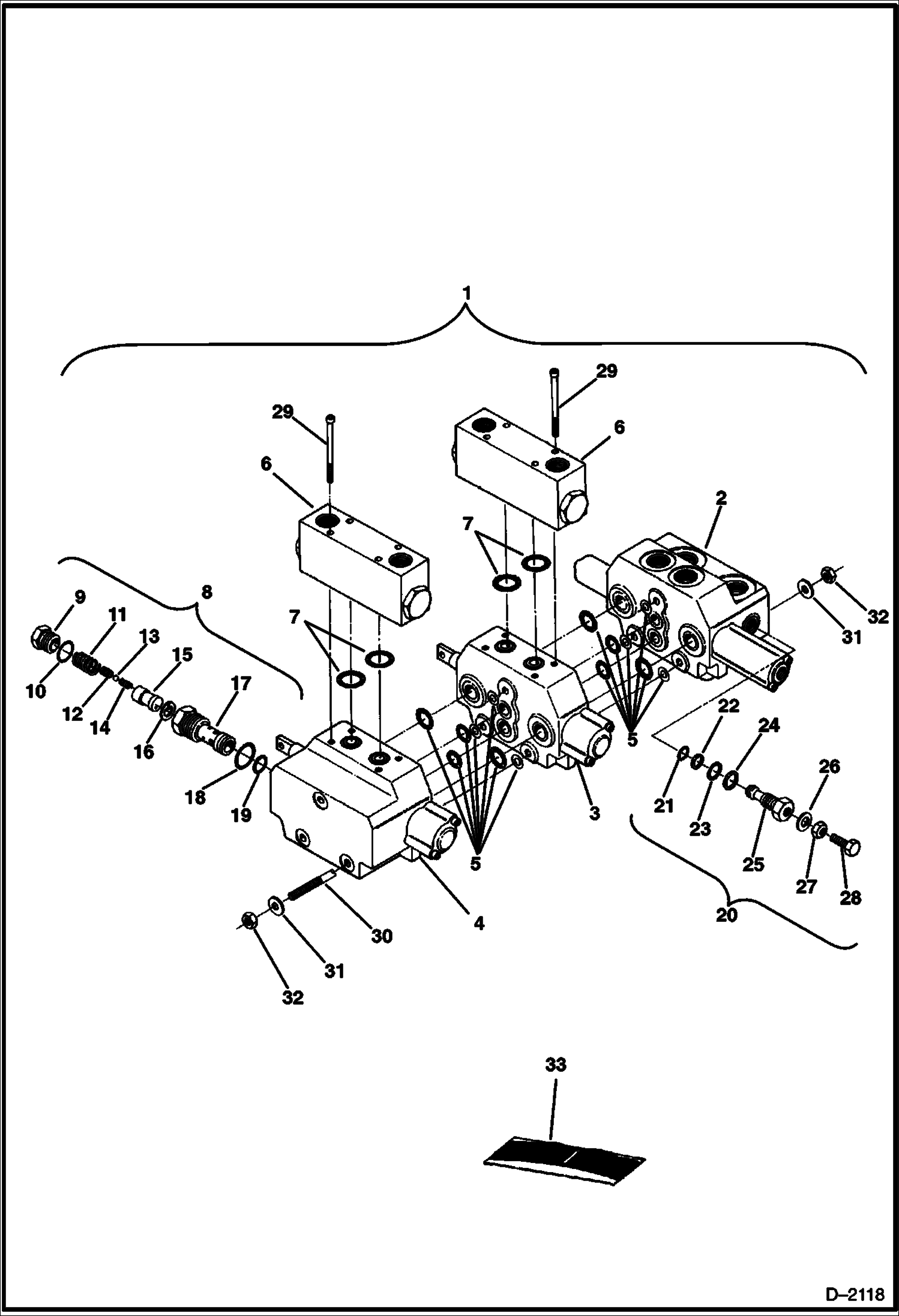
1

6658411

VALVE Assy. - W/Ref. 2-32

2

6658325

VALVE See Illustration INLET VALVE SECTION/ D2103 swing motor

3

6658680

VALVE See Illustration VALVE SECTION/ C3278 blade

4

6658324

VALVE See Illustration OUTLET VALVE SECTION/ C3232 boom swing

5

6658319

SEAL KIT Valve Section

6

6658327

CHECK VALVE See Illustration CHECK VALVE/ D3234 assy

7

6658328

O-RING

8

VALVE NLA - pressure - W/Ref. 9-19 - set at 200 PSI - non-adjustable - Was 6658326 - A

9

PLUG NSS

10

6656432

O-RING

11

SPRING NSS

12

PLUG NSS

13

BALL NSS

14

SPRING NSS

15

PISTON NSS

16

SNAP RING NSS

17

HOUSING NSS

18

6656435

O-RING

19

6658340

O-RING

20

6658416

RELIEF VALVE W/Refs. 21-28 - Set at 2300-2400 PSI

21

O-RING NSS - Included W/Ref. 33

22

BACK-UP RING NSS - Included W/Ref. 33

23

O-RING NSS - Included W/Ref. 33

24

BACK-UP RING NSS - Included W/Ref. 33

25

HOUSING NSS

26

WASHER NSS

27

NUT NSS

28

BOLT NSS

29

6658321

BOLT

30

6658318

TIE ROD Includes 3 tie rods

31

6658320

WASHER

32

6658322

NUT

33

6656281

SEAL KIT Relief Valve - W/Refs. 21-24

Выбрано товаров: 33