Запчасти Bobcat 316 DOZER CYLINDER HYDROSTATIC/HYDRAULIC

Схема запчастей Bobcat 316 - DOZER CYLINDER HYDROSTATIC/HYDRAULIC
FIT
1:1
100%

Артикул

Название

Примечание

Количество

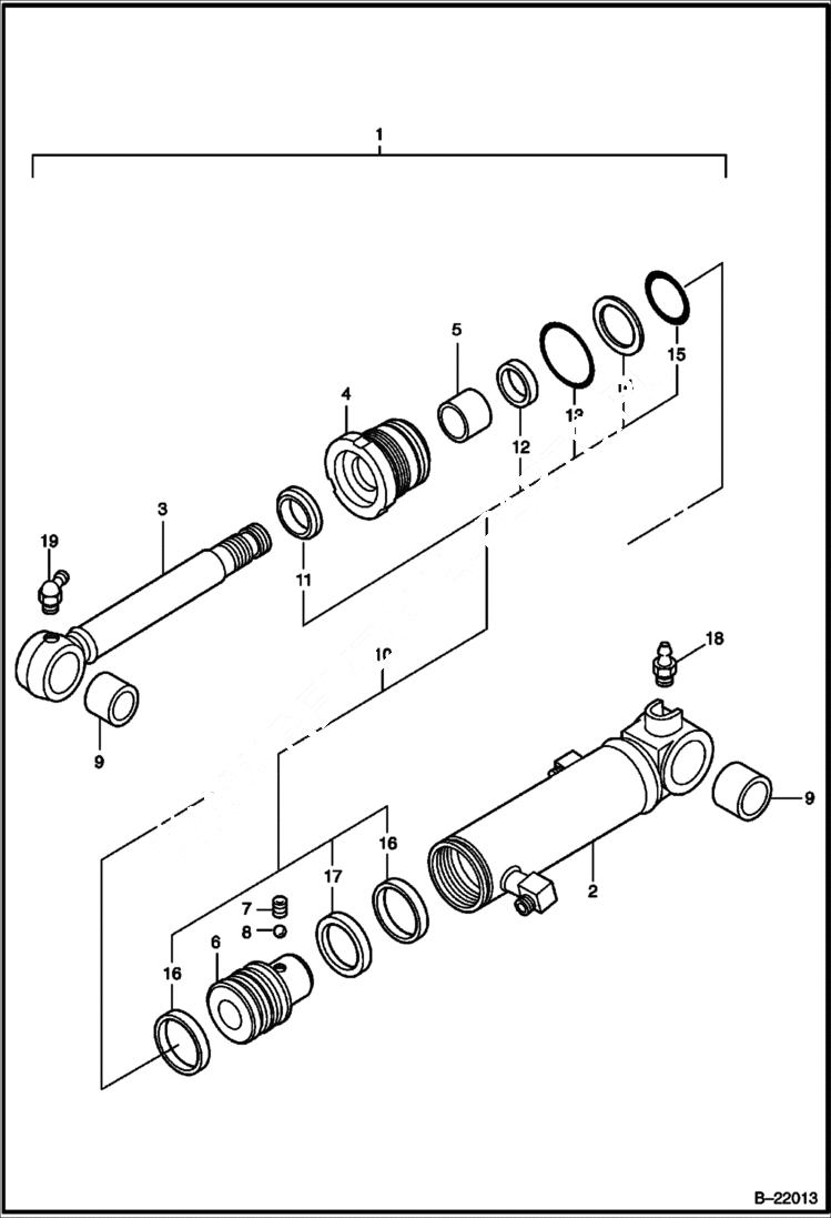
1

NTS5-55000

CYLINDER dozer

2

60622-15001

CASE

3

60622-15002

ROD

4

60121-50120

HEAD

5

30131-02503

BUSHING

6

60221-50101

PISTON

7

91511-06080

SET SCREW

8

96321-03960

BALL

9

60421-25235

BUSHING

10

60629-14901

SEAL KIT Ref. 11-17

11

30191-25025

RING wiper

12

30961-02512

U-RING

13

95151-05000

O-RING

14

95723-04500

RING backup

15

95122-04500

O-RING

16

60231-50061

RING slide

17

30983-50001

SEAL RING

18

0540-02000-F

GREASE ZERK

19

0541-02000-F

GREASE ZERK 45 degree

Выбрано товаров: 19