Запчасти Bobcat 320 SWING MOTOR (S/N 511721412-22858) HYDRAULIC SYSTEM

Схема запчастей Bobcat 320 - SWING MOTOR (S/N 511721412-22858) HYDRAULIC SYSTEM
FIT
1:1
100%

Артикул

Название

Примечание

Количество

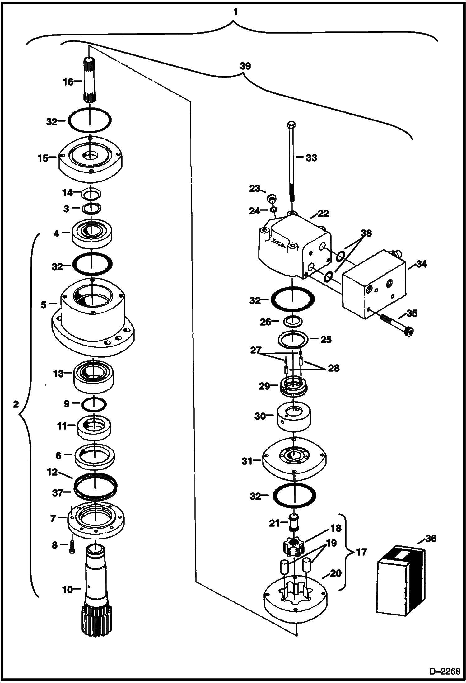
1

SWING MOTOR See BTIE-055 NLA - assy. - W/Ref. 2-35, 37 & 38 - Order Ref. 39

2

6671069

SHAFT See BTIE-055 Assy. - W/Ref. 3-13, 32 & 37 - Was 6659995 - A

3

SNAP RING NLA - Order Ref. 2

4

BEARING NLA - Order Ref. 2

5

HOUSING NLA - Order Ref. 2

6

6673873

SEAL W/Seal Kit - Ref. 36 - Was NLA - A

7

6659996

RETAINER Seal

8

6659997

BOLT

9

O-RING NLA - Order Ref. 2

10

SHAFT NLA - Order Ref. 2

11

SLEEVE NLA - Order Ref. 2

12

6513537

O-RING W/Seal Kit - Ref. 36 - Was NLA - A

13

BEARING NLA - Order Ref. 2

14

SEAL NLA - Order 6690987 - Was 1992098 - A

15

6651956

PLATE

16

6630032

SHAFT

17

6656367

GEROLER Assy. - W/Ref. 18-20

18

STAR NSS - Order Ref. 17

19

ROLLER NSS - Order Ref. 17

20

RING NSS - Order Ref. 17

21

1992084

DR VALVE

22

6632289

HOUSING

23

1992104

PLUG W/Ref. 24

24

79K4

O RING 10 W/Seal Kit - Ref. 36

25

SEAL NLA - Order Ref. 36 seal kit - Was 6653300 - A

26

1992100

SEAL W/Seal Kit - W/Ref. 36 - Was NLA - A

27

1992088

SPRING

28

1992102

PIN

29

6630027

BALANCE RING

30

6632288

VALVE

31

6656368

PLATE

32

6662955

SEAL W/Seal Kit - W/Ref. 36 - Was NLA - A

33

6632349

BOLT

34

6665348

VALVE See Illustration COUNTER BALANCE VALVE/ C3366

35

BOLT See Illustration COUNTER BALANCE VALVE/ C3366 NLA - Was 6665709 - A

36

6659998

SEAL KIT W/Ref. 6, 12, 24-26, 26 & 37

37

6673869

WASHER Back-up - W/Seal Kit Ref. 36 - Was NLA - A

38

6658530

O-RING Was 6655830 - D

39

6665347

MOTOR ASSY W/Ref. 3-33 & 37

Выбрано товаров: 0