Запчасти Bobcat 320 SWIVEL JOINT (S/N 517811001-11884) HYDRAULIC SYSTEM

Схема запчастей Bobcat 320 - SWIVEL JOINT (S/N 517811001-11884) HYDRAULIC SYSTEM
FIT
1:1
100%

Артикул

Название

Примечание

Количество

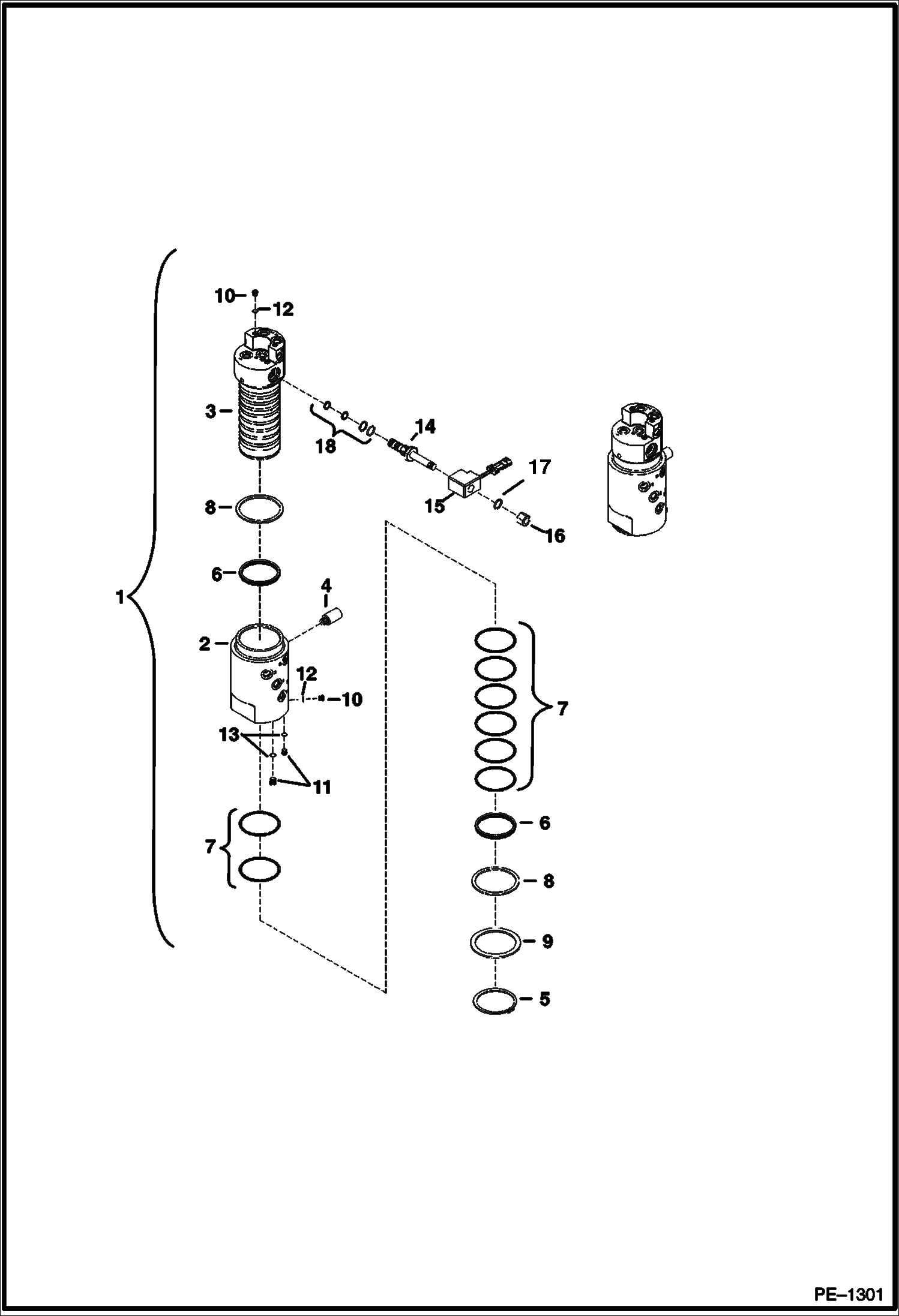
1

SWIVEL JOINT NLA - W/Refs. 2 - 13 - Order 6807006 Page 50, hoses (2) 6675531 & (2) 6675532 - Was 6804857 - A

2

HOUSING NLA - Order 6807005 , hoses (2) 6675531 & (2) 6675532 - Was 6804859 - A

3

6804861

ROTOR

4

6805212

STUD

5

6662076

RING

6

7100535

SEAL Was 6810610 - A

7

6810813

SEAL, OIL 2 pc seal - Was 6669254 - A

8

6674221

WASHER

9

6805213

WASHER backing

10

6812170

PLUG W/Ref. 12 - Was 90K000002B - A

11

90K3

PLUG W/Ref. 13

12

95K3

O'RING

13

95K4

O-RING

14

6674207

SOLENOID VALVE blade/track expansion W/O coil

15

6674208

COIL For Ref. 14

16

6675392

SEAL KIT for Ref. 14

17

6676344

O-RING

18

6676343

NUT

Выбрано товаров: 18