Запчасти Bobcat 320 INJECTOR NOZZLES POWER UNIT

Схема запчастей Bobcat 320 - INJECTOR NOZZLES POWER UNIT
FIT
1:1
100%

Артикул

Название

Примечание

Количество

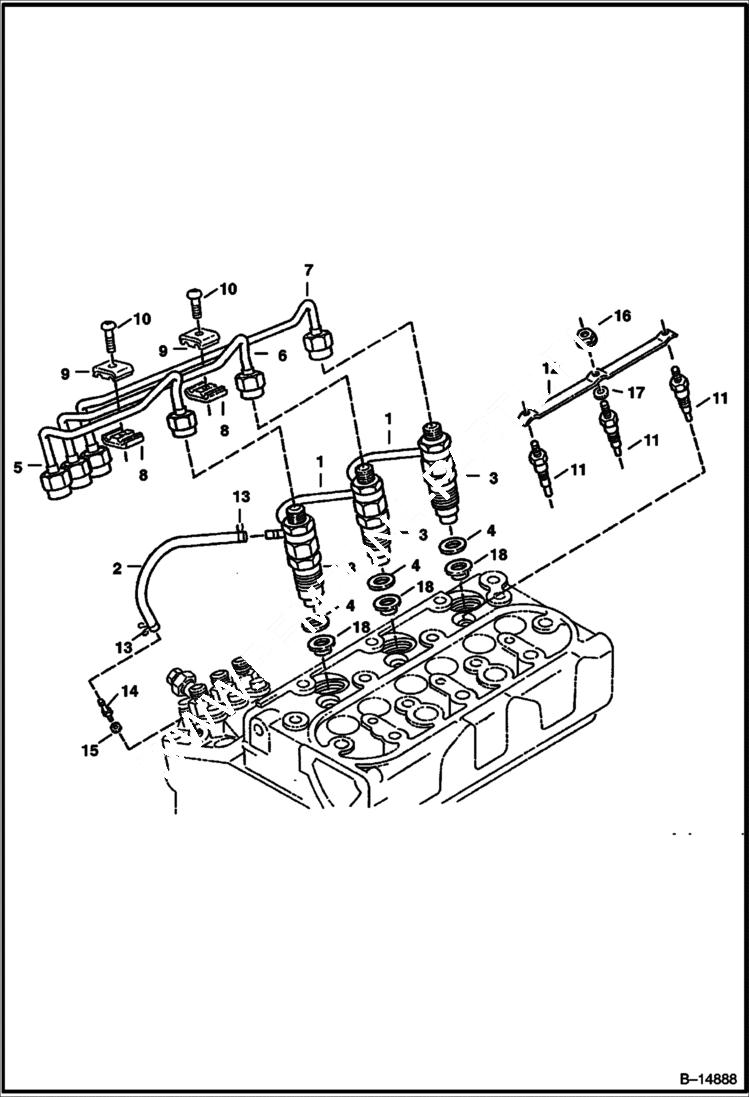
1

6670463

PIPE Injector Return Line

2

6670464

HOSE Overflow - W/Ref. 13

3

NOZZLE HOLDER See Illustration NOZZLE HOLDER/ B14862 - Was 6670465 - A

4

6655218

GASKET See Illustration UPPER GASKET KIT/ C3243 - Included W/Upper Gasket Kit

5

6670467

PIPE Was 6670466 - D

6

6670468

PIPE Was 6670467 - D

7

6670469

PIPE Was 6670468 - D

8

6652688

CLAMP

9

6652689

CLAMP

10

3974260

SCREW

11

6670470

GLOW PLUG

12

6670471

WIRE

13

6654718

CLAMP pipe - Was 6680795 - A

14

6657446

SCREW

15

3974972

GASKET

16

6670472

NUT

17

6670473

WASHER

18

6655872

HEAT SEAL See Illustration UPPER GASKET KIT/ C3243 - Heat Inc - W/Upper Gasket Kit

Выбрано товаров: 18