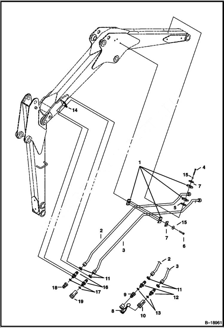
Запчасти Bobcat 320 HYDRAULIC CIRCUITRY (Auxiliary) (S/N 511721116 & Above) HYDRAULIC SYSTEM

Схема запчастей Bobcat 320 - HYDRAULIC CIRCUITRY (Auxiliary) (S/N 511721116 & Above) HYDRAULIC SYSTEM
FIT
1:1
100%

Артикул

Название

Примечание

Количество

1

6577697

CLAMP Was 6701893 - B

2

6589175

TUBE

3

6589176

TUBE

4

1CM650

SCREW

5

6589130

COVER Clamp

6

1CM850

BOLT

7

6652521

PLATE Clamp

8

6513709

CAP PLUG Coupler

9

6598757

COUPLER, POPPET MALE straight

10

6598758

COUPLER, POPPET FEMALE straight

11

86F7

LOCK NUT For Bulkhead Fittings

12

45K7

CONNECTR Bulkhead - Use W/Poppet Couplers

13

79K10

O RING 10 Use W/Poppet Couplers

14

6589353

PLATE welded on the boom

15

15EM80

WASHER

16

6711625

FITTING Bulkhead - Use W/Flush Face Couplers

17

79K12

O RING 10 Use W/Flush Face Couplers

18

6674688

COUPLER, FF MALE straight - Was 6667808 - A

18

6679841

SEAL Was 6672026 - A

19

6672960

COUPLER, FF FEMALE straight - Was 6667807 - A

Выбрано товаров: 20