Запчасти Bobcat 321 BUCKET CYLINDER HYDRAULIC SYSTEM

Схема запчастей Bobcat 321 - BUCKET CYLINDER HYDRAULIC SYSTEM
FIT
1:1
100%

Артикул

Название

Примечание

Количество

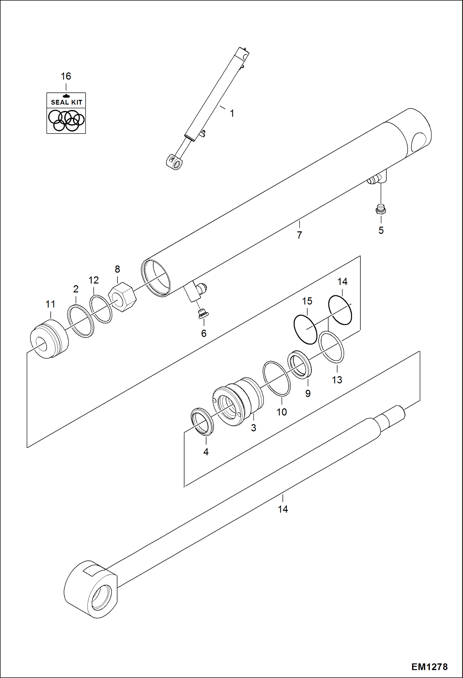
1

7114699

CYL ASSY 323K BUCKET W/Ref. 2-16

2

6516231

SEAL

3

6539323

HEAD

4

6665208

SEAL

5

7114700

TUBE ASSY SERVICE W/Ref. 6-9

6

TUBE NLA - Order Ref. 5

7

6812170

PLUG W/ O-ring - W/Ref. 8

8

75K3

O-RING

9

82K136

O-RING

10

6808338

PISTON

11

54K30118

O-RING

12

54K40124

O-RING

13

73K224

RING

14

7114701

SHAFT W/A W/A

15

92D14

NUT

16

6667324

SEAL

17

7137770

KIT, SEAL CYLINDER W/Ref. 2, 4, 9, 11-13, 15-16

Выбрано товаров: 17