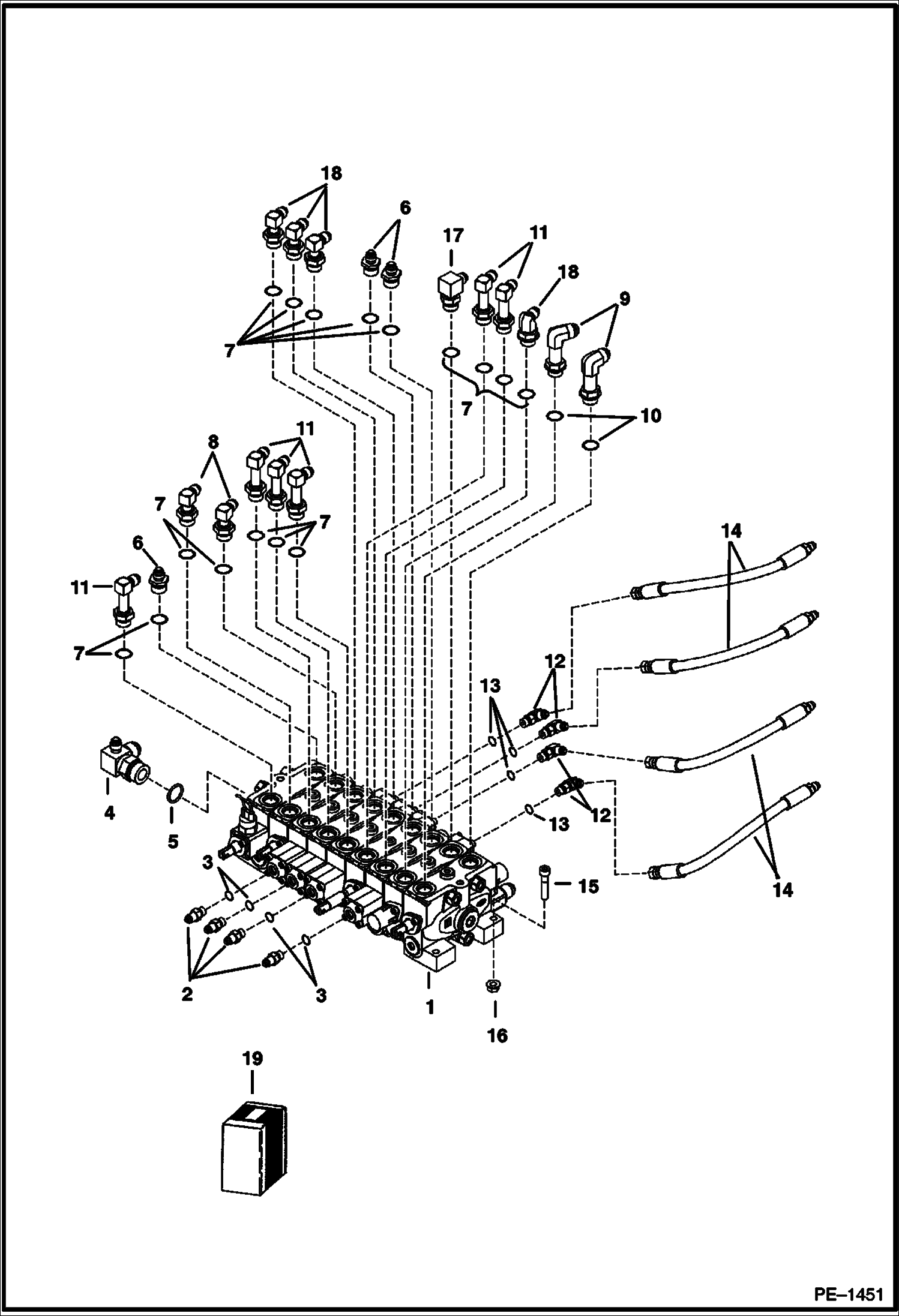
Запчасти Bobcat 322 CONTROL VALVE (S/N 223812347 & Above, 223514377 & Above, 223911001 & Above, 224011001 & Above) HYDRAULIC SYSTEM

Схема запчастей Bobcat 322 - CONTROL VALVE (S/N 223812347 & Above, 223514377 & Above, 223911001 & Above, 224011001 & Above) HYDRAULIC SYSTEM
FIT
1:1
100%

Артикул

Название

Примечание

Количество

1

6677774

VALVE control

1

6685051

VALVE,CONTROL control - 320L only

2

CONNECTOR NLA - W/Ref. 3 - tapered boss face - Was 15KN00003B - B

2

15KB0404

FTG HYD S Connector W/Ref. 3 - flat boss face

2

97K4

O'RING flare end

3

99K4

O'RING

4

CROSS NLA - W/Ref. 5 - tapered boss face - Was 6810061 - A

4

6812819

FITTING flat boss face

4

97K6

O RING flare end

4

97K10

O-RING 10 flare end

5

99K12

O RING tapered boss face

5

79K12

O RING 10 flat boss face

6

CONNECTOR NLA - W/Ref. 7 - tapered boss face - Was 6715649 - A

6

15KB0608

FITTING, HYD CONNECTOR W/Ref. 7 - flat boss face

6

97K6

O RING flare end

7

99K8

O-RING

7

79K8

O RING 10 flat boss face

8

ELBOW NLA - W/Ref. 7 -tapered boss face - Was 6810713 - A

8

6812818

ELBOW

8

97K6

O RING flare end

9

6812820

ELBOW W/Ref. 10 - Was 6511914 - A

9

24K6

FITTING 320L

10

79K8

O RING 10

11

ELBOW NLA - W/Ref. 7- tapered boss end - Was 6810714 - A

11

6812817

ELBOW W/Ref. 7 - flat boss face

11

97K6

O RING

12

17KB0404

FTG HYD ELBOW 90 W/Ref. 13 - Was 17KV00003B - A

12

97K4

O'RING

13

99K4

O'RING tapered boss face

13

79K4

O RING 10 flat boss face

14

6806086

HOSE

15

3GM840

SCREW

16

51DM8

NUT

17

ELBOW NLA - W/Ref. 7 - tapered boss face - Was 6804301 - A

17

17KB0608

FITTING, HYD ELBOW W/Ref. 7 - flat boss face

17

97K6

O RING flare end

18

18KB0608

FTG HYD ELBOW 45

19

6688632

KIT seal - Was 6687127 - A

Выбрано товаров: 38