Запчасти Bobcat 322 HYDRAULIC CIRCUITRY (Auxiliary) HYDRAULIC SYSTEM

Схема запчастей Bobcat 322 - HYDRAULIC CIRCUITRY (Auxiliary) HYDRAULIC SYSTEM
FIT
1:1
100%

Артикул

Название

Примечание

Количество

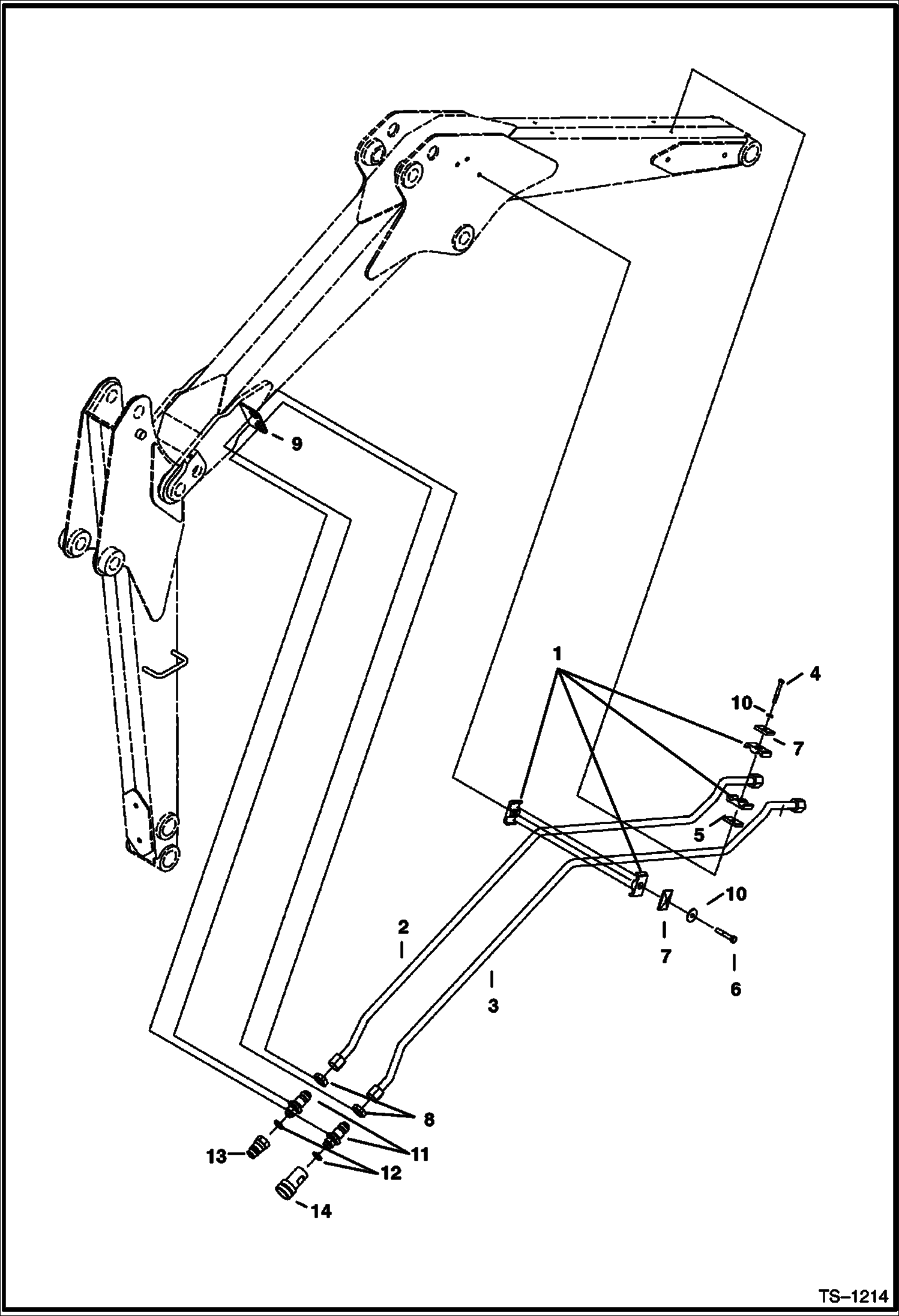
1

6577697

CLAMP Was 6701893 - B

2

6803507

TUBE Was 6589175 - A

3

6803508

TUBE Was 6589176 - A

4

1CM650

SCREW

5

6589130

COVER Clamp

6

1CM840

BOLT Was 1CM00850B - B

7

6652521

PLATE Clamp

8

86F7

LOCK NUT for bulk head fittings

9

6803509

PLATE welded on the boom - Was 6589353 - A

10

15EM80

WASHER

11

6711625

FITTING Bulkhead - W/Ref. 12 - flat boss face

11

6812816

ADAPTER Bulkhead - W/Ref. 12 - tapered boss face - Was 6715185 - A

11

97K10

O-RING 10 flared end

12

79K12

O RING 10 flat boss face

12

99K12

O RING tapered boss face

13

6674688

COUPLER, FF MALE straight - Was 6667808 - A

13

6679841

SEAL Was 6672026 - A

14

6672960

COUPLER, FF FEMALE straight - Was 6667807 - A

Выбрано товаров: 18