Запчасти Bobcat 322 SWIVEL JOINT (S/N 517811885 & Above) HYDRAULIC SYSTEM

Схема запчастей Bobcat 322 - SWIVEL JOINT (S/N 517811885 & Above) HYDRAULIC SYSTEM
FIT
1:1
100%

Артикул

Название

Примечание

Количество

1

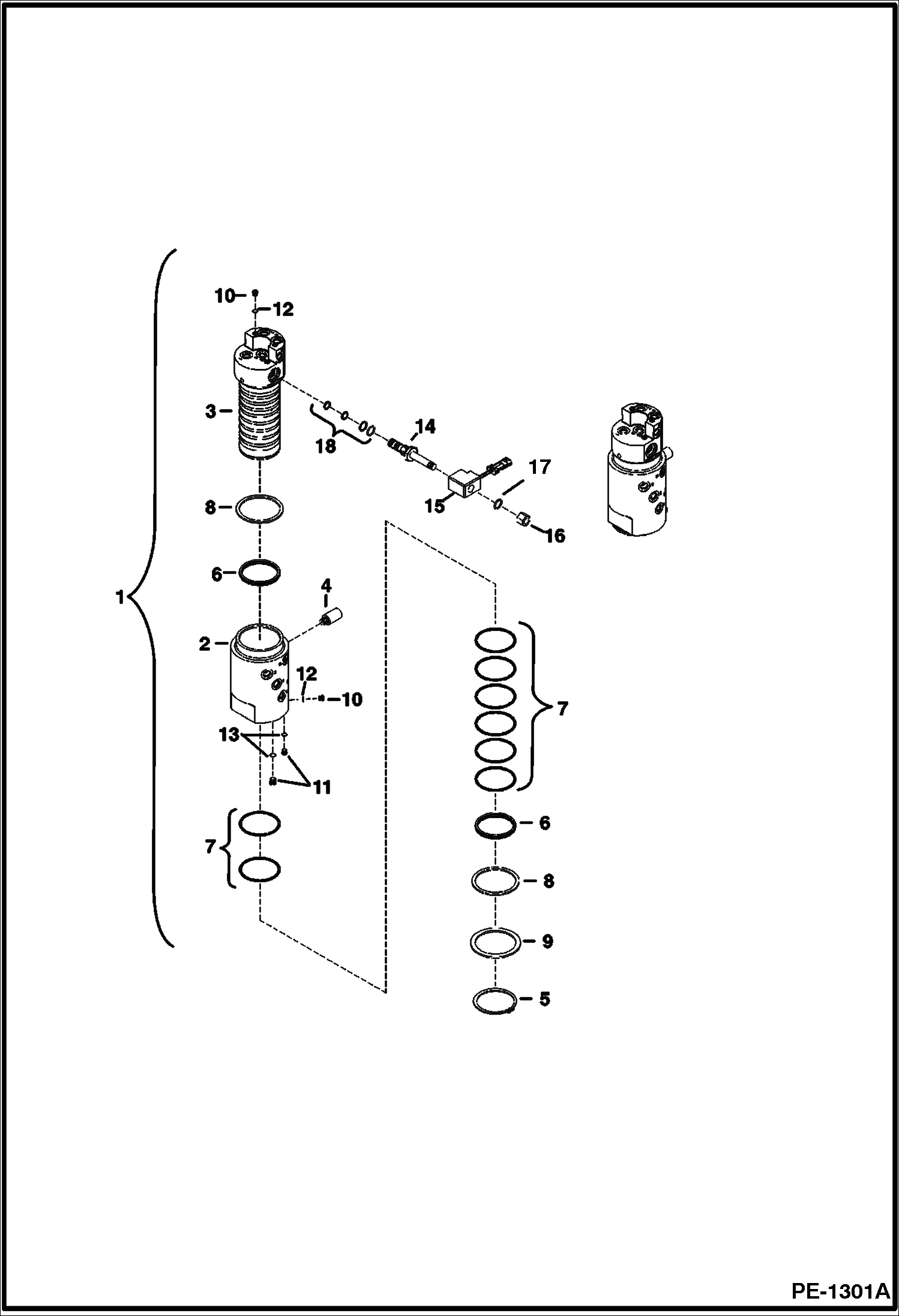
SWIVEL JOINT See BTIE-079 - NLA - W/Refs. 2 - 13 - Was 6807281 - A

1

SWIVEL JOINT See BTIE-079 - NLA - W/Refs. 2 - 13

2

HOUSING NLA - See BTI 069 for complete swivel assy - Was 6807005 - A

3

6804861

ROTOR

4

6805212

STUD

5

6662076

RING

6

7100535

SEAL Was 6810610 - A

7

6810813

SEAL, OIL 2 pc seal - Was 6669254 - A

8

6674221

WASHER

9

6805213

WASHER backing

10

90KV2

PLUG W/Ref. 12

11

90K3

PLUG W/Ref. 13 - Was 90KV3 - D

12

95K3

O'RING

13

95K4

O-RING

14

6674207

SOLENOID VALVE blade/track expansion W/O coil

15

6674208

COIL for Ref. 14

16

6676343

NUT

17

6676344

O-RING

18

6675392

SEAL KIT For Ref. 14

Выбрано товаров: 0