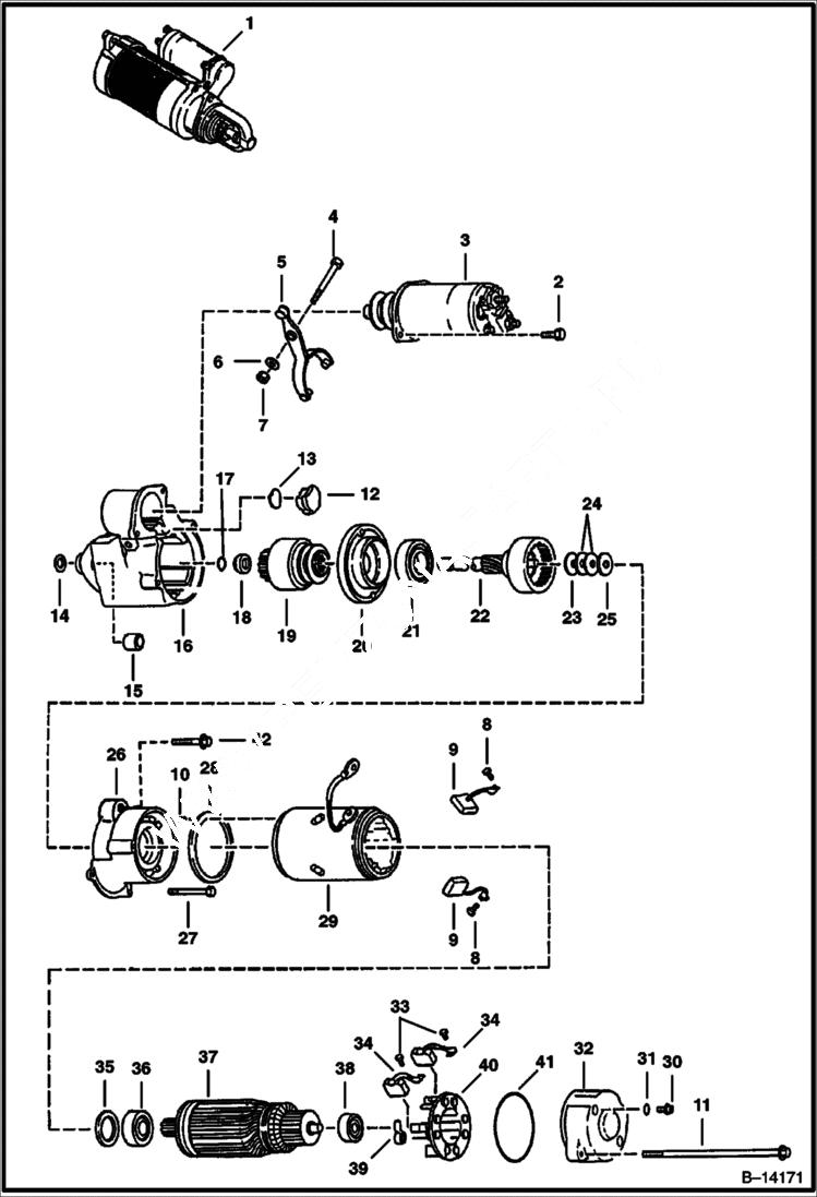
Запчасти Bobcat 325 STARTER (10479606) (S/N 514014899 & Below) ELECTRICAL SYSTEM

Схема запчастей Bobcat 325 - STARTER (10479606) (S/N 514014899 & Below) ELECTRICAL SYSTEM
FIT
1:1
100%

Артикул

Название

Примечание

Количество

1

6665088

STARTER

1

6665088REM

STARTER

2

SCREW NSS

3

6665339

SOLENOID

4

1CM650

SCREW

5

6658572

LEVER

6

1EM60

WASHER

7

7DM6

NUT

8

13GM404

SCREW

9

6658566

BRUSH

10

PIN NSS

11

BOLT NSS

12

PLUG NSS

13

WASHER NSS

14

WASHER NSS

15

6658567

BUSHING

16

6661687

HOUSING Drive

17

RING NSS - Incl. W/Ref. 18

18

6658573

STOP

19

6661688

DRIVE

20

6661686

SUPPORT Drive-W/Seal

21

6658571

SUPPORT Center

22

6658576

SHAFT Drive

23

WASHER NSS

24

WASHER NSS

25

WASHER NSS

26

6658577

SUPPORT Armature

27

BOLT NSS

28

GASKET NSS

29

6658580

FRAME Assy.

30

SCREW NSS

31

WASHER NSS

32

6658575

FRAME

33

13GM408

SCREW

34

6658565

BRUSH

35

SPACER NSS

36

6658569

BEARING

37

6658574

ARMATURE

38

6658570

BEARING

39

6658568

SPRING

40

6658564

HOLDER Brush assy.

41

6658581

O-RING

42

BOLT NSS

Выбрано товаров: 43