Запчасти Bobcat 329 ARM WORK EQUIPMENT

Схема запчастей Bobcat 329 - ARM WORK EQUIPMENT
FIT
1:1
100%

Артикул

Название

Примечание

Количество

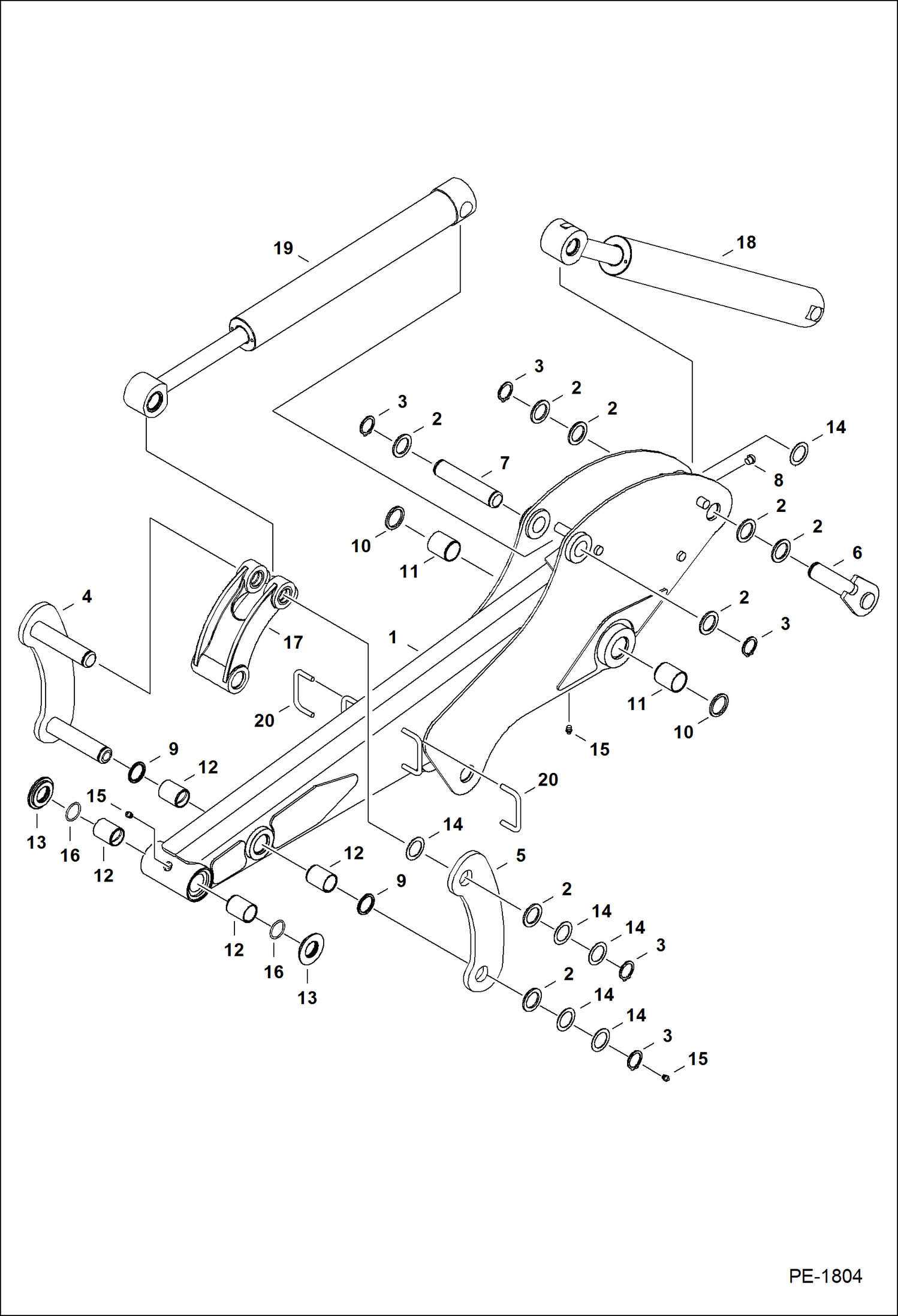
1

7110546

ARM, EXCAVATOR W/A Also Order bushings & seals

2

6534111

WASHER

3

6534154

RING

4

7173235

LINK, GUIDE W/A Was 7127600 - A

5

7173234

LINK, GUIDE Was 7129624 - A

6

6595222

PIN

7

6596216

PIN

8

6597572

BUMPER

9

6652915

SEAL, OIL dust

10

6660075

SEAL dust

11

6815277

BUSHING wear - Was 6803207 - A

12

6803213

BUSHING, PRESS FIT

13

6810627

WASHER

14

6811636

SPACER

15

10H25

FITTING, GREASE 5 grease

16

25K40112

O RING 10

17

6805374

LINK See Illustration BUCKET LINK & X-CHANGE/ PE3252

18

CYLINDER See Illustration ARM CYLINDER/ PE1976 arm

19

CYLINDER See Illustration BUCKET CYLINDER/ PE1979 bucket

20

6586391

GUIDE weld-on

Выбрано товаров: 0