Качественные детали и логистика
Оригинальные и аналоговые запчасти с доставкой по России, Казахстану и Беларуси
©2022 PartSell ООО "Система" ИНН 2463123282 ОГРН 1212400004838
Центральный офис: г. Красноярск, Академика Киренского, д.87, пом.4
Телефон: 8 (800) 777-65-74 Email: zakaz@partsell.ru
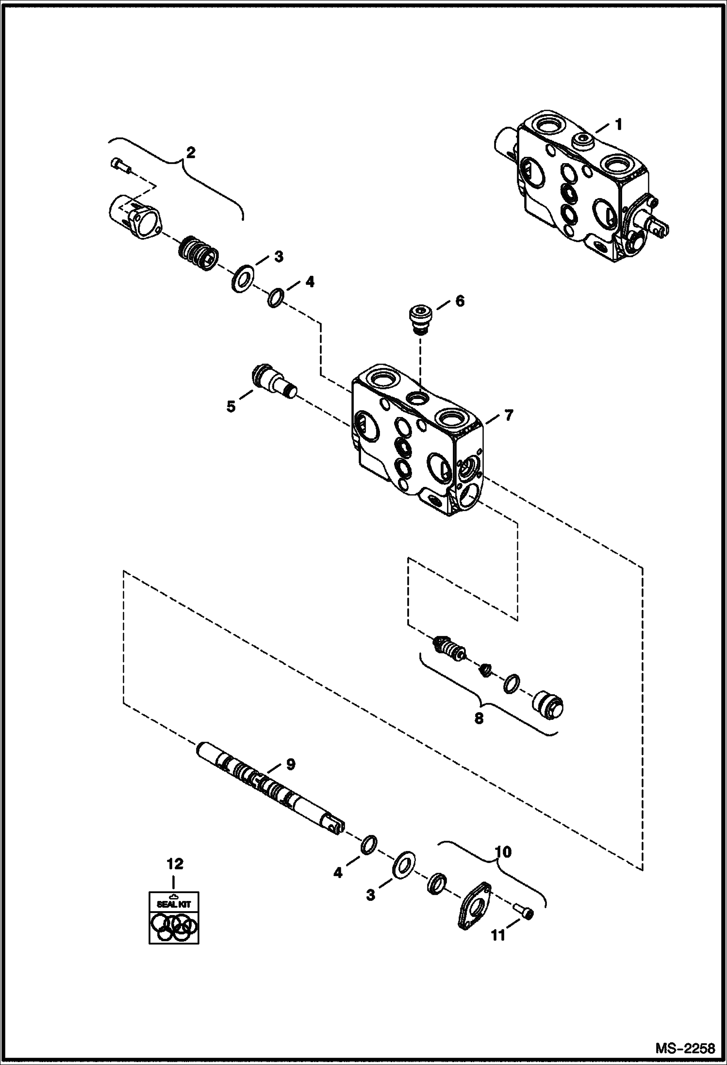
VALVE SECTION (Blade)
№
Артикул
Название
Примечание
Количество
1
6680039
VALVE blade - Ref. 2-11
2
6693138
KIT - Was 6680109 - A
3
6680095
WASHER
4
6680094
O-RING
5
6686233
PLUG
6
6680092
VALVE, LOCK LOAD
7
BLOCK NSS - Order Ref. 1
8
6685304
VALVE assy - port relief/anti cav
9
SPOOL NSS - Order Ref. 1
10
6680097
KIT
11
6680071
SCREW
12
6680044
SEAL KIT
Выбрано товаров: 0