Запчасти Bobcat 331 CONTROL VALVE (5 Spool) HYDRAULIC SYSTEM

Схема запчастей Bobcat 331 - CONTROL VALVE (5 Spool) HYDRAULIC SYSTEM
FIT
1:1
100%

Артикул

Название

Примечание

Количество

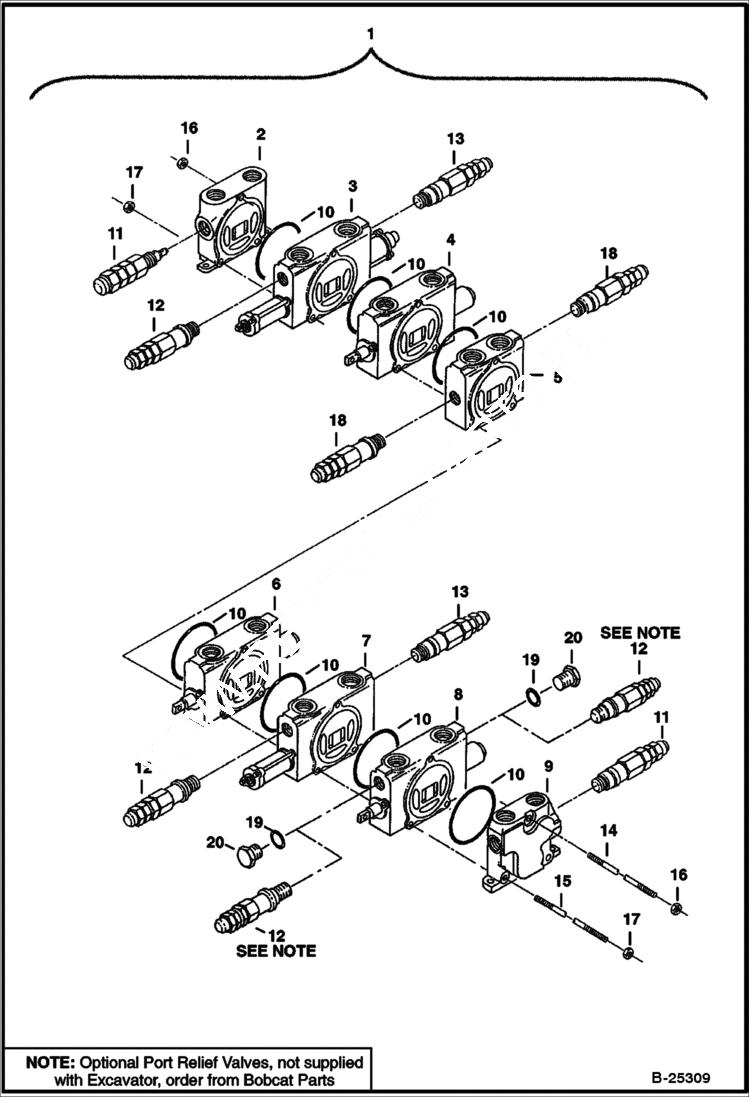
1

6668197

VALVE 5 Spool - W/Ref. 2-18

1

6669386

VALVE 5 Spool - W/Ref. 2-18

1

6670320

VALVE 5 Spool - W/Ref. 2-18

2

6668987

OUTLET

3

6668981

VALVE See Illustration VALVE SECTION/ C3414 - Section - Boom

4

6668978

VALVE See Illustration VALVE SECTION/ C3413 - Section - R.H. Travel

5

6668974

VALVE Section - Inlet

5

6670567

VALVE Section - Inlet

6

6668977

VALVE See Illustration VALVE SECTION/ C3412 - Section - L.H. Travel

7

6676565

VALVE See Illustration VALVE SECTION/ C3415 - Section - Bucket - Was 6668982 - A

8

VALVE See Illustration VALVE SECTION/ C3410 - NLA - Order 6670568 - Section - Auxiliary - Will NOT accept Port Relief

8

6670568

VALVE See Illustration VALVE SECTION/ C3410 - Section - Auxiliary - Incl. Refs. 19-20 - Machined to accept Port Relief

9

6668988

OUTLET

10

6646691

O-RING

11

6669022

RELIEF VALVE See Illustration VALVE SECTION/ C3412 - Set at 2500 PSI (17242 kPa) @ 7.6 GPM

11

6671573

RELIEF VALVE See Illustration RELIEF VALVE/ C3364 - Set at 2500 PSI (17242 kPa) @ 7.6 GPM

12

6674259

VALVE See Illustration RELIEF VALVE/ C3361 - Set at 2950 PSI (20345 kPa) - Was 6665436 - A

13

6674260

RELIEF VALVE See Illustration RELIEF VALVE/ C3361 - Set at 3400 PSI (23449 kPa) - Was 6669017 - A

14

6514392

TIE BOLT

15

6514391

BOLT

16

62D6

NUT 5

17

61D5

NUT

18

6671570

RELIEF VALVE See Illustration RELIEF VALVE/ C3361 - Set at 3000 PSI (20690 kPa) @ 7.6 GPM

18

6669019

RELIEF VALVE See Illustration RELIEF VALVE/ C3361 - Set at 3500 PSI (24138 kPa) @ 7.6GPM

18

6671574

RELIEF VALVE See Illustration RELIEF VALVE/ C3463 - Set at 3500 PSI (24138 kPa) @ 7.6 GPM

19

79K10

O RING 10

20

6631050

PLUG W/Ref. 19

Выбрано товаров: 27