Запчасти Bobcat 331 SWING CYLINDER HYDRAULIC SYSTEM

Схема запчастей Bobcat 331 - SWING CYLINDER HYDRAULIC SYSTEM
FIT
1:1
100%

Артикул

Название

Примечание

Количество

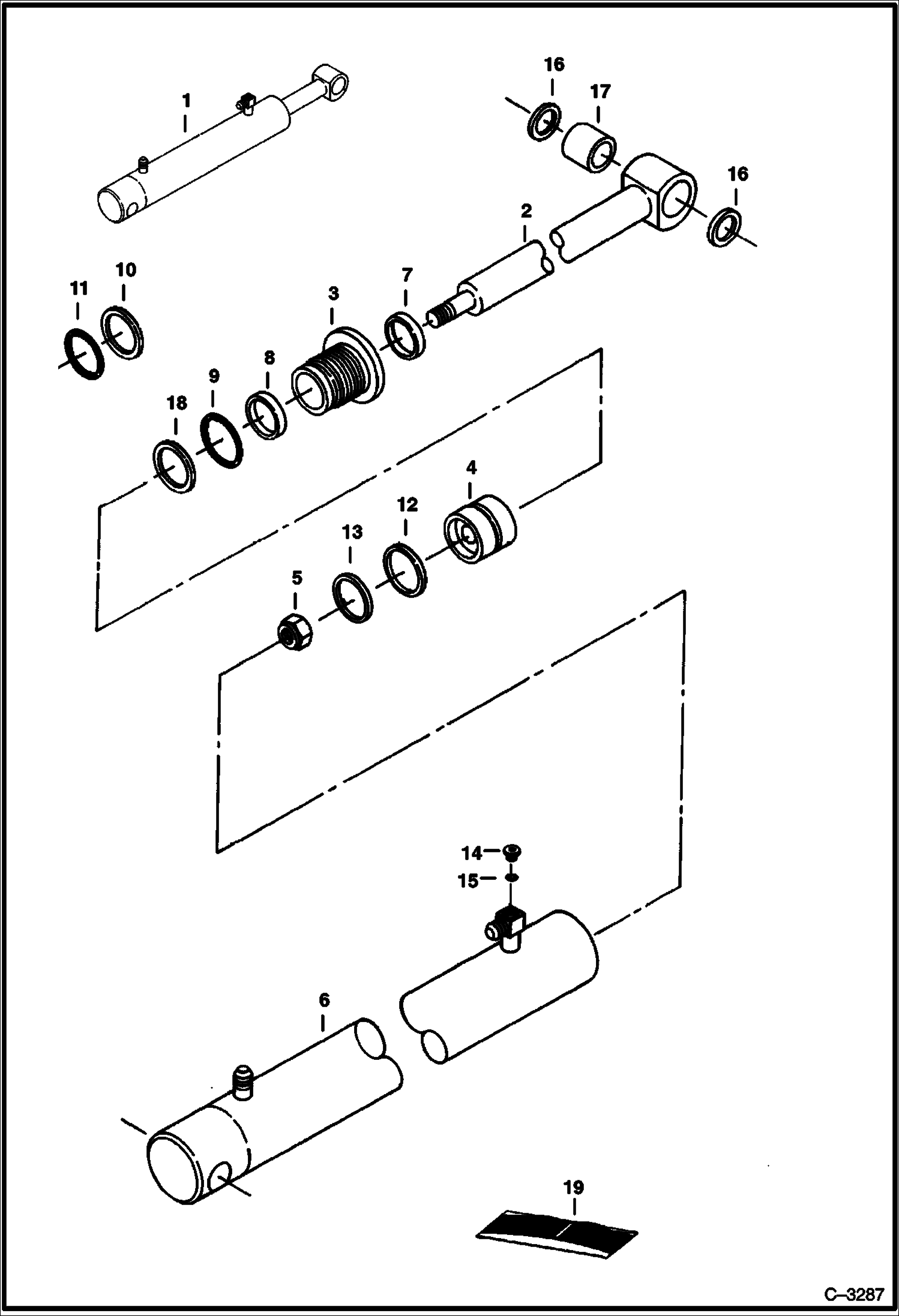
1

6816319

CYLINDER, SWING Ref. 2 - 15 - Also Order Ref. 17 & (2) of Ref. 16 - Was 6814862 - A

2

6810420

ROD Also Order Ref. 17 & (2) of Ref. 16 - Was 6807974 - A

3

6538367

HEAD, CYL TILT

4

6589759

PISTON

5

6810539

NUT Was 6804592 - A

6

6810444

HOUSING Was 6807972 - A

7

6690707

WIPER, ROD CYL Was 6665086 - A

8

6667326

SEAL rod

9

58K234

O RING 10 Was 54K40300 - B

10

73K232

RING, BACK-UP back-up - Was 80K232 - A

11

25K40224

O RING 10 Was 54K40224 - B

12

947088

RING, BACK-UP

13

25K30218

O RING 10 Was 54K30218 - B

14

90KV2

PLUG W/Ref. 15 - allen socket head - tapered boss face

14

6812170

PLUG W/Ref. 15 - hex head - flat boss face

15

95K6

O'RING tapered boss face

15

75K3

O-RING flat boss face

16

6660075

SEAL

17

6808997

BUSHING Was 6807979 - D

18

7008355

SEAL, QUAD

19

7135547

KIT, SEAL Ref. 5 & 7-13 - Was 6816325 - A

Выбрано товаров: 21