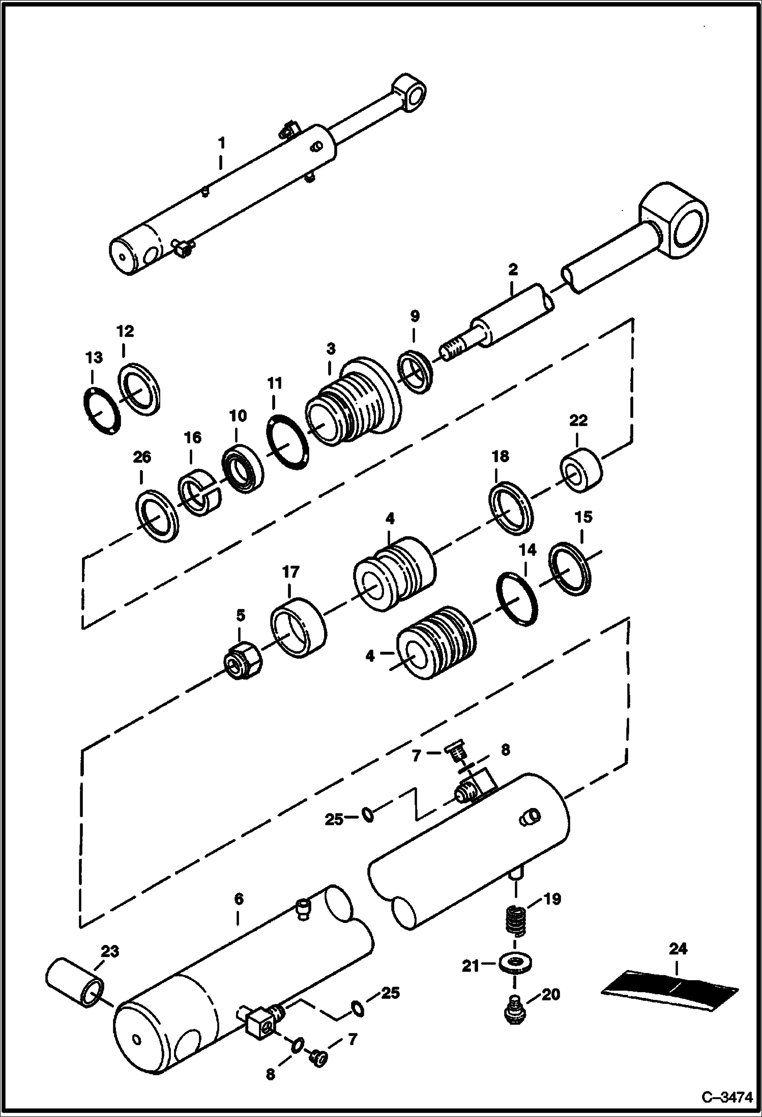
Запчасти Bobcat 337 BOOM CYLINDER (S/N 515411001 - 515411627) HYDRAULIC SYSTEM

Схема запчастей Bobcat 337 - BOOM CYLINDER (S/N 515411001 - 515411627) HYDRAULIC SYSTEM
FIT
1:1
100%

Артикул

Название

Примечание

Количество

1

CYLINDER See Illustration BOOM CYLINDER/ B22524 - NLA - Ref. 2-22 - Order 6812060 (1), 6538893 (2), 6804775 (1), 17C001012B (2), 25E000026B (2) & 6804778 (2)

2

6800121

ROD

3

6628459

HEAD

4

PISTON NLA - Order Piston 6804690 & Seal 6673123

4

6804690

PISTON

5

6810540

NUT Was 92D000020B - A

6

HOUSING NLA - Also Order Ref. 23 - Order Ref. 1 - Was 6803734 - A

7

90KV5

PLUG W/Ref. 8 - Was 47K000005B - B

8

99K6

O RING Was 79K000006B - B

9

6686998

WIPER, ROD CYL Was 6666545 - A

10

6667328

SEAL Was 6538277 - A

11

82K242

O-RING Was 58K000242B - A

12

BK UP WSH NLA - Back-up - Order Ref. 26 - Was 80K342 - B

13

O RING 10 NLA - Order Ref. 26 - Was 25K60320 - B

14

25K30316

O RING 10 Use W/Piston 6803729 - Was 54K030316B - A

15

947023

RING Use W/Piston 6803729

16

7000772

RING, WEAR Was 6698134 - A

17

6672147

WEAR RING

18

6673123

SEAL NYLON Nylon - Use W/Piston 6804690

19

6803426

SPRING Was 6803416 - D

20

6802788

BOLT

21

27E14

WASHER 5

22

6803699

SPACER

23

6628993

BUSHING Incl. W/Ref. 6

24

7196447

KIT, SEAL Ref. 5, 9-11, 14-18 & 26 - Was 7137576 - A

25

55K16

O'RING Incl. W/Ref. 24

26

7008353

SEAL, QUAD

Выбрано товаров: 27