Запчасти Bobcat 337 TRACK TENSIONER (W/O Replaceable Shaft) UNDERCARRIAGE

Схема запчастей Bobcat 337 - TRACK TENSIONER (W/O Replaceable Shaft) UNDERCARRIAGE
FIT
1:1
100%

Артикул

Название

Примечание

Количество

1

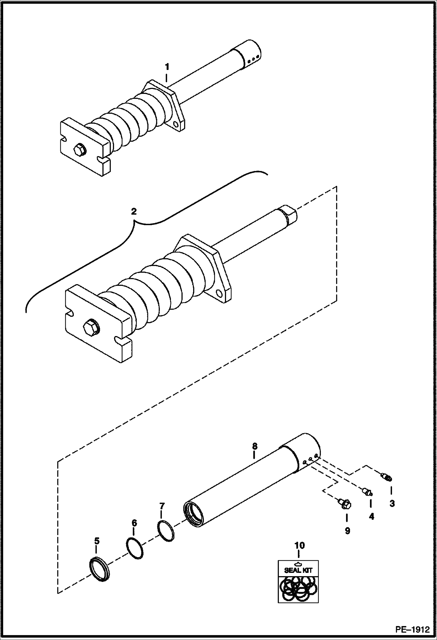
CYLINDER See Illustration TRACK TENSIONER/ PE3894 - NLA - Ref. 2-9 - Order 7181322 - for rubber tracks only - Was 7101491 - A

1

CYLINDER See Illustration TRACK TENSIONER/ PE3894 - NLA - Ref. 2-9 - Order 7181322 cylinder and 7164410 spacer - for steel tracks only - Was 7101556 - A

2

SPRING NLA - Assy. - Order Ref. 1

3

6645812

SCREW, BLEED

4

6655752

FITTING 68,900 kpa (10,000 psi) - DO NOT SUBSTITUTE

5

6686968

SEAL, WIPER ROD Was 6684410 - A

6

6685154

RING, BACK-UP

7

6672338

O-RING Was 6685153

8

6816242

CYLINDER

9

26GM10020

BOLT

10

7102860

SEAL KIT Ref. 3-5

Выбрано товаров: 11