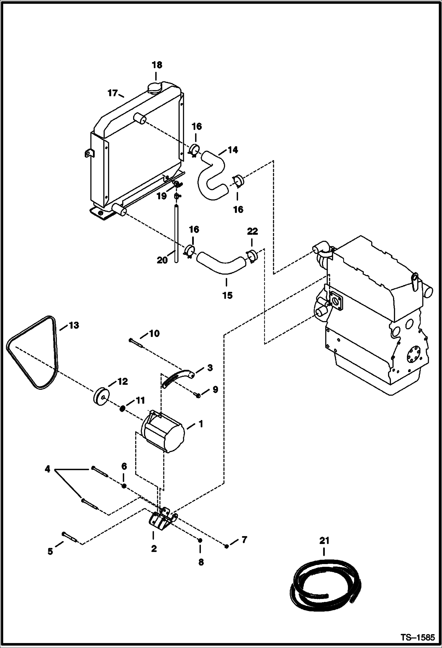
Запчасти Bobcat 341 ALTERNATOR MOUNTING & RADIATOR HOSES POWER UNIT

Схема запчастей Bobcat 341 - ALTERNATOR MOUNTING & RADIATOR HOSES POWER UNIT
FIT
1:1
100%

Артикул

Название

Примечание

Количество

1

ALTERNATOR See Illustration ALTERNATOR/ B25158 - Was 6661611 - B

2

6803397

BRACKET Was 6596746 - B

3

6596745

RETAINER

4

1CM885

BOLT

5

1C648

BOLT

6

6568877

WASHER

7

4DM8

NUT Was 1DM00008B - A

8

95D6

NUT Was 85D000006B - A

9

35C516

BOLT 10

10

1CM870

BOLT

11

6571554

SPACER

12

6571536

PULLEY Alternator - not supplied with Alternator

13

6560056

BELT Was 6657279 - B

14

6664452

HOSE Upper

15

6664451

HOSE Lower

16

5HM44

CLAMP Was 42H000024B - B

17

6670733

RADIATOR

18

6646678

CAP Radiator - Was 3974310B - D

19

6513679

VALVE Was 6679506 - A

19

6679505

ADAPTER

20

HOSE NLA - 12'' (335) long - Order Ref. 21

21

6577822

HOSE bulk - sold per foot

22

42HC200

CLAMP

Выбрано товаров: 23