Запчасти Bobcat 418 STROBE LIGHT ACCESSORIES & OPTIONS

Схема запчастей Bobcat 418 - STROBE LIGHT ACCESSORIES & OPTIONS
FIT
1:1
100%

Артикул

Название

Примечание

Количество

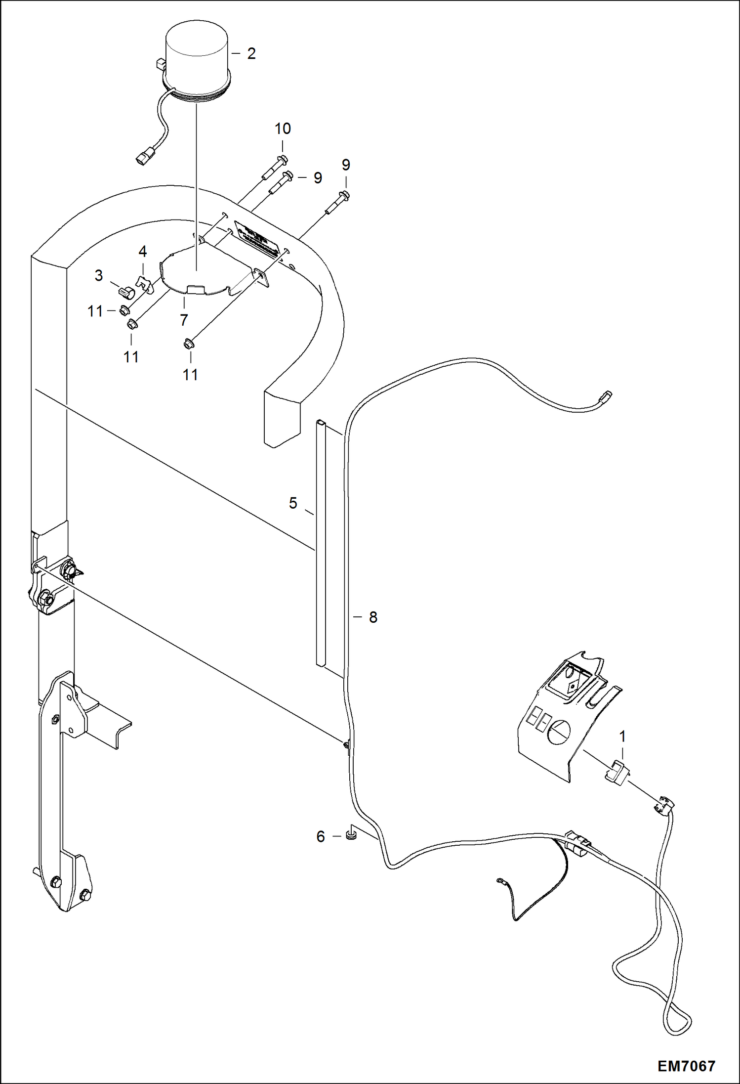
1

6668816

SWITCH

2

7241140

LIGHT, STROBE Was 7219903 - A

3

6678669

STRAP

4

6679034

MOUNT

5

6682741

RETAINER, WIRE

6

GROMMET NSS - Was 7134688 - A

7

7155871

HOLDER BEACON

8

7160072

HARNESS BEACON/STRB W/Ref. 6

9

29CM1050

BOLT

10

29CM1055

BOLT

11

43DM10

NUT

Выбрано товаров: 11