Качественные детали и логистика
Оригинальные и аналоговые запчасти с доставкой по России, Казахстану и Беларуси
©2022 PartSell ООО "Система" ИНН 2463123282 ОГРН 1212400004838
Центральный офис: г. Красноярск, Академика Киренского, д.87, пом.4
Телефон: 8 (800) 777-65-74 Email: zakaz@partsell.ru
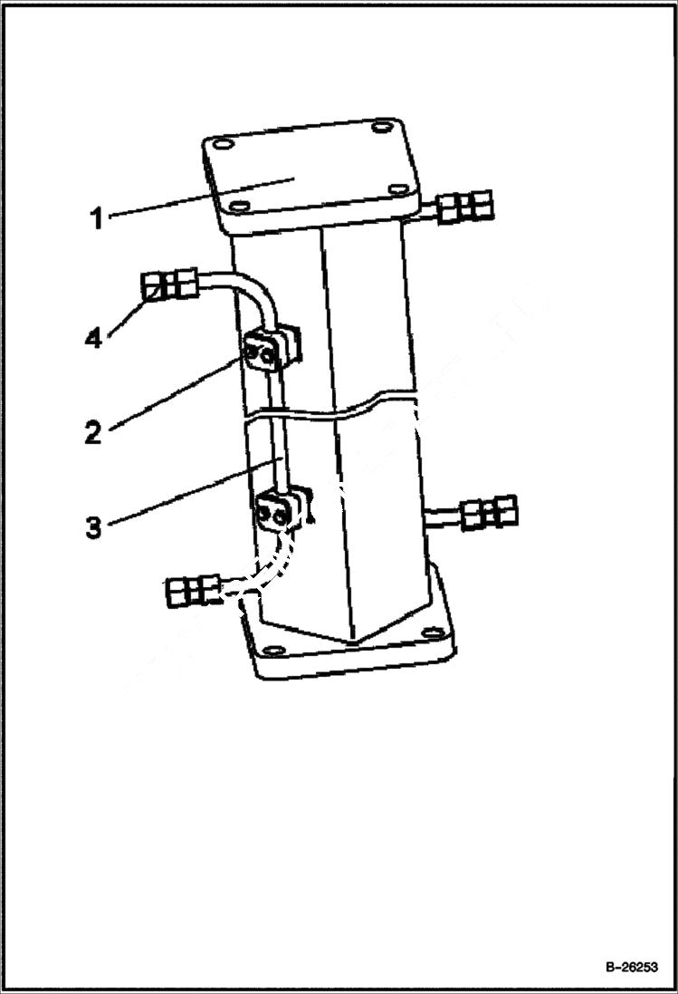
EXTENSION
№
Артикул
Название
Примечание
Количество
1
EXTENSION KIT NLA - 1000mm - Was 6182785000 - A
EXTENSION KIT NLA - 1500mm - Was 6182784000 - A
2
5440000373
CLAMP
3
5440000375
TUBE 1000mm
5440000380
TUBE 1500mm
4
5440000381
FITTING
Выбрано товаров: 0