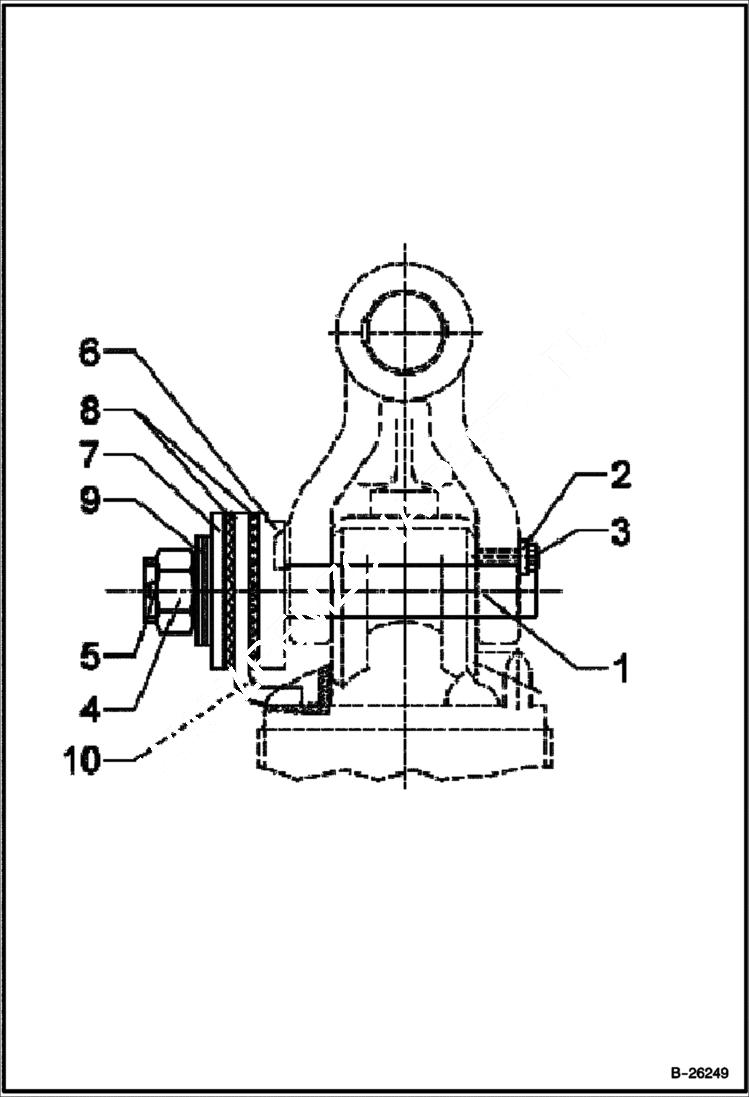
Запчасти Bobcat 442 COUPLER PIN ACCESSORIES & OPTIONS

Схема запчастей Bobcat 442 - COUPLER PIN ACCESSORIES & OPTIONS
FIT
1:1
100%

Артикул

Название

Примечание

Количество

1

5440000198

PIN

2

5440000195

RETAINER

3

5440000196

SCREW

4

5440000199

NUT

5

1395707727

SPLINT PIN

6

5440000201

DAMPER BRAKE DISC

7

5440000202

BRAKE DISC

8

5440000203

BRAKE LINING

9

5440000204

WASHER

10

5440000352

DAMPER DISC

Выбрано товаров: 10