Качественные детали и логистика
Оригинальные и аналоговые запчасти с доставкой по России, Казахстану и Беларуси
©2022 PartSell ООО "Система" ИНН 2463123282 ОГРН 1212400004838
Центральный офис: г. Красноярск, Академика Киренского, д.87, пом.4
Телефон: 8 (800) 777-65-74 Email: zakaz@partsell.ru
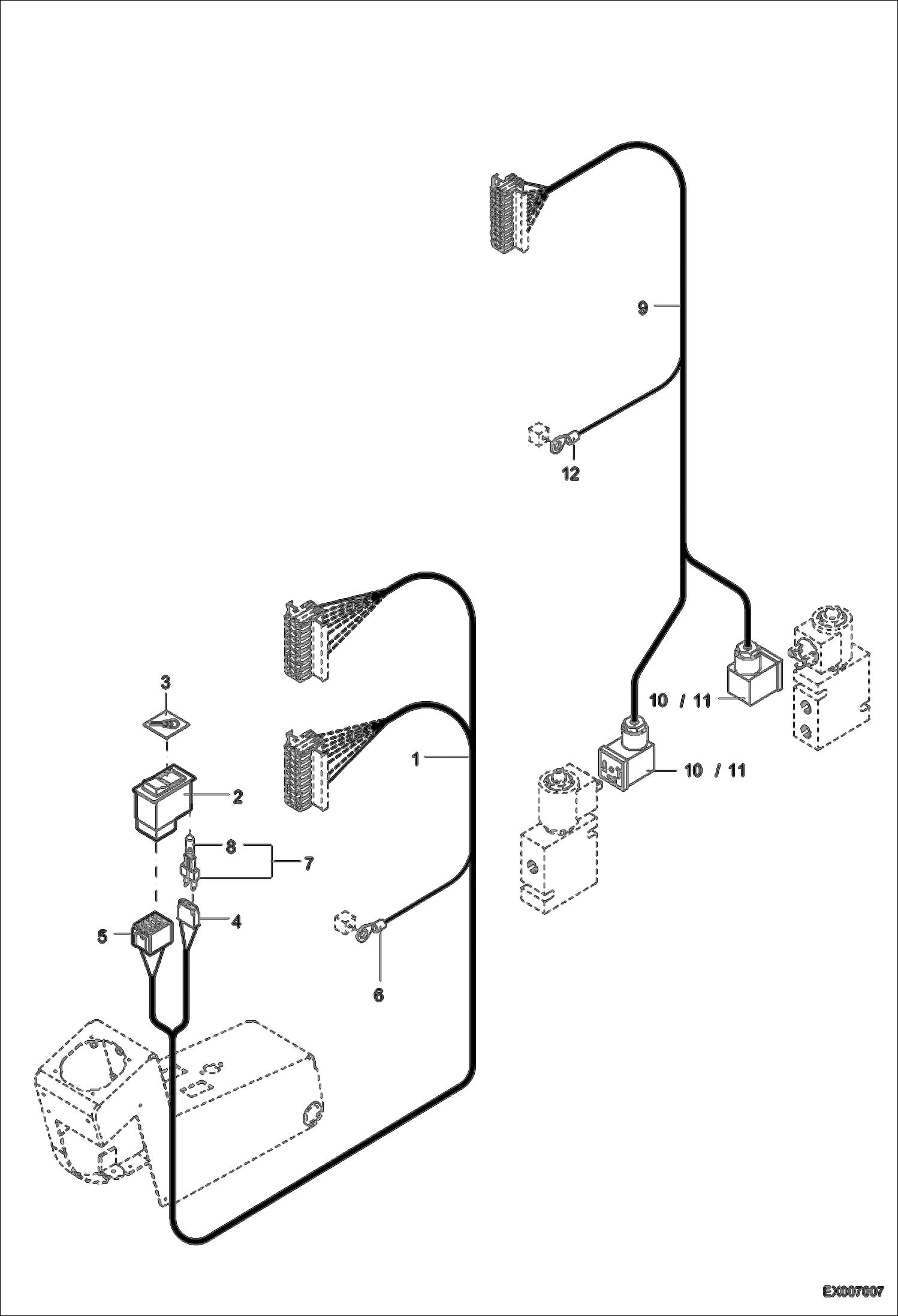
CHANGEOVER ISO/SAE
№
Артикул
Название
Примечание
Количество
1
0234760010
WIRE HARNESS CPL. W/Ref. 1-6
2
5050651362
SWITCH W/Ref. 7
3
5358650297
SYMBOL occ. light
4
5050650231
HOUSING
5
5050650225
6
5350246610
CABLE CONNECTOR
7
5050650226
LAMP W/Ref. 8
8
1813000021
ROUND BULB
9
0190260020
WIRE HARNESS W/Ref. 10-12
10
5552659550
BOX
11
5552659513
SEAL
12
Выбрано товаров: 0